时间:2020-01-16 06:07:15
1、单选题 读“我国东部沿海部分省(市、区)耕地、水资源比重对比图”,回答下列各题。
1.图示反映我国的资源问题是2.我国解决这一问题的主要措施是
A.耕地与水资源的配置失衡
B.水资源的时间分布不均
C.资源总量多,人均资源量少
D.土地资源空间分布不均
E.西气东输
F.南方平整土地,北方节约用水
G.南水北调
H.控制人口数量,提高人口素质
参考答案:1. A
2. C
本题解析:1.本题考查地理图表的判读能力。根据图示:我国耕地比重大的省份,水资源比重小,而水资源比重大的,耕地比重小,说明我国的耕地与水资源的配置失衡。所以本题选择A选项。
2.我国解决这一问题的主要措施是进行南水北调工程。我国北方地区耕地面积比重大,而水资源的比重小。所以本题选择C选项。
本题难度:一般
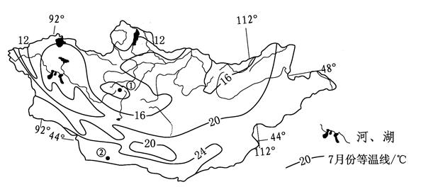
2、单选题 下图示意亚洲某内陆国水系分布和七月份气温分布情况。读图完成题。
1.图中①地的7月均温可能为2.该国
A.18℃
B.16℃
C.14℃
D.10℃
E.年降水量南多北少
F.常年受西风带控制
G.东南部地势起伏大
H.水汽主要来自北冰洋
参考答案:1. D
2. D
本题解析:试题分析:
1.根据图示7月份气温的分布规律可知:等气温差是4℃,①地地势高,气温低,其气温范围是8℃-12℃之间,符合条件的只有D选项。故选D。
2.读图可知该国北部水系发达,表明北部降水多,南部少;东南部等温线稀疏,地势起伏小;因位于亚洲大陆内部,且离北冰洋较近,所以受西风影响较小,其水汽主要来自北冰洋。故选D。
考点:本题考查等温线分布及影响图示地区降水分布的原因。
点评:试题难度中等,解题关键是理解等温线的分布规律与区域降水的原因。根据图中的等值线分布判断①为低值中心,气温应低于12°C。另外我们还可根据图示的经纬度和轮廓判断,此国位于中国的北部,且为内陆国,可推出是蒙古国,即是温带大陆性气候,蒙古深居内陆,降水少,形成的自然带是温带荒漠带。
本题难度:一般
3、单选题 图中昼夜温差最小的是
A.①
B.②
C.③
D.④
参考答案:C
本题解析:试题分析:多云的白天,云层对太阳辐射起到削弱作用,多云的夜晚,云层对地面起到保温作用。
考点:主要考查了云层对太阳辐射的削弱作用和对地面的保温作用。
点评:本题难度较小。要求学生熟练掌握云层对太阳辐射的削弱作用和对地面的保温作用。
本题难度:困难
4、单选题 在夏威夷海岸与北美少洲海岸之间出现了一个“太平洋垃圾大板块”,可称之为世界“第八大洲”。这个“垃圾洲”由数百万吨被海水冲积于此的塑料垃圾组成。据国外媒体报道,美国海岸目前正经受着一场史无前例的危险局面。据此并结合图,完成问题。
1.促使垃圾在太平洋上聚集,形成“垃圾洲”
的主要洋流可能有
①北太平洋暖流?②加利福尼亚寒流
③阿拉斯加暖流?④北大西洋暖流2.使该“垃圾洲”让美国海岸面临“危险局面”的洋流是
A.①②
B.②③
C.①③
D.②④
E.北赤道暖流
F.加利福尼亚寒流
G.日本暖流
H.阿拉斯加暖流
参考答案:1. A
2. B
本题解析:1.在夏威夷海岸与北美少洲海岸之间的洋流主要是北太平洋暖流和加利福尼亚寒流。选择A项。
2.本题考查洋流对污染物的影响。加速净化的速度,扩大污染范围。流经该地的洋流是加利福尼亚寒流。选择B项。
本题难度:一般
5、单选题 该图中,a、b代表不同地点,读图回答问题。
1.有关a气候的叙述,正确的是2.a、b两种气候类型都有分布的大洲是
A.北半球特有的
B.冬雨夏干
C.由于气压带风带移动形成的
D.美国东部地区最典型
E.亚洲
F.欧洲
G.非洲
H.南极洲
参考答案:1. A
2. A
本题解析:1.结合图示a气候类型的气温、降水量信息判断,最低月温在0°C以下,降水量集中于夏季,故判断为温带季风气候,只分布于北半球。
2.结合图示b气候类型的气温、降水量信息判断,终年高温多雨,为热带雨林气候,由于温带季风气候只分布于亚洲,而亚洲也有热带雨林气候的分布。
考点:本题考查气候类型的判断和分布。
点评:本题解题的关键是能抓住图示气候类型的气温、降水量分布特征,判断气候类型并结合气候类型的分布判断。
本题难度:简单