时间:2020-01-16 05:58:52
1、单选题 下图为中国部分区域多年平均径流深【径流深R,指计算时段内的径流总量平铺在水文测站以上流域面积上所得的水层厚度,它的常用单位为毫米(mm).若时段为△t(s),平均流量为Q(m3/s),流域面积为A(km2),则径流深R(mm)由下式计算:R=Q△t/(1000A)。平均径流深则为径流深的多年平均值】1随经度的变化示意图,图中选取的是沿台湾—江西—四川—青海等省一线水文观测站(图中小圆点)以上流域面积的数据.回答问题。
【小题1】等流域面积的下列地区,多年平均径流深最大的是
A.四川盆地
B.台湾山脉中央地区
C.东南丘陵
D.准格尔盆地
【小题2】多年平均径流深度大于200毫米的地区位于我国
A.干旱地区
B.半干旱地区
C.季风区
D.半季风区
【小题3】图中曲线在甲点出现明显转折,反映出此处
A.是梯级分界线,地形抬升作用影响了降水量
B.位于四川盆地中央,径流量大
C.地形平坦、河道弯曲,排水不畅
D.植被覆盖率高,涵养水源能力强
参考答案:
【小题1】B
【小题2】C
【小题3】A
本题解析:本题考查资料分析能力(我国的河流)。
【小题1】结合右偏判断:越往东,降水量丰富,则多年平均径流深最大。故选B项。
【小题2】图示多年平均径流深度大于200毫米的地区都位于我国东部地区,故选C项。
【小题3】甲地多年平均径流深度大反映当地降水量丰富。判断可能为地形雨。故选A项。
本题难度:一般
2、单选题 随着发达地区环境危机的加剧,生态安全成为一些地方的民生首要问题,赣鄱大地的生态优势却日益彰显。江西从实际出发,认真贯彻落实科学发展观,适时提出建设鄱阳湖生态经济区。它不仅造福于江西,而且造福于全国,甚至影响全球。鄱阳湖是中国最大的淡水湖,有多条河流从东、南、西三面注入,北部有水道通往长江,湖泊水面呈现“冬季一条线,夏季一大片”景象变化。鄱阳湖是候鸟迁徙途中的重要栖息地。据此完成下列问题。
小题1:鄱阳湖在冬季成为迁徙候鸟群重要栖息地的原因是
A.湖滩面积大,水浅
B.湖底沙砾石广布,水质好
C.湖区少有大雾,能见度好
D.湖泊受人类活动影响小
小题2:鄱阳湖冬、夏水面景象变化的原因是
A.湖底有线状洼地,冬季河道封冻,夏季来水量大
B.湖底平坦,入湖水量夏季大于冬季
C.湖底有线状洼地,水位季节差异明显
D.湖底平坦,长江顶托作用季节变化明显
参考答案:
小题1:A
小题2:C
本题解析:
小题1:冬季的时候鄱阳湖及其补给区降水少,湖面呈一条线状,所以湖水浅,便于候鸟们栖息和在这里觅食,故而A正确。
小题2:鄱阳湖位于亚热带地区,冬季湖面不结冰,A错误;该湖泊冬季呈一条线,说明湖底有线状洼地,B、D错误;这里属于季风区,大气降水补给为主,湖水水位季节变化大。
本题难度:一般
3、综合题 读图,完成下列要求(共13分)
(1)R河的水源主要补给是______________ 该河流河水流量变化较大的主要原因是______________(2分)
(2)描述A区域降水特征及分布状况,并分析原因。(4分)
(3)水稻是印度的主要粮食作物,主要分布在恒河中、下游地区和高原东北部,请你评价印度种植水稻的有利条件。(至少答出4点,4分)
(4)将孟买打造成一个像中国上海那样的国际大都市是印度人的梦想,结合所学知识,请你对比分析两大城市共同的区位特征。(至少答出3点,3分)
参考答案:
(1)雨水和冰雪融水(1分) 位于热带季风区,受夏季风强弱和气温高低变化影响大。(2分)
(2)降水丰富并且由沿海向内陆递减(2分) 位于暖湿的西南季风迎风坡,多地形雨。(2分)
(3)地形平坦,耕地面积广;土壤肥沃;纬度较低,热量充足;热带季风气候,雨热同期;人口稠密,劳动力资源丰富。(4分)
(4)都是两国重要的工业中心,经济基础雄厚;都是两国最大的港口城市,便于对外联系和交往;都是世界著名的特大城市,人力资源丰富。(3分)
本题解析:
(1)图示为南亚地区,R河是恒河。主要补给水源是雨水和冰雪融水。该河位于热带季风气候区,受夏季风强弱和气温高低变化影响大。所以河流水量季节变化大。
(2)根据图中等降水量线判断,A区域降水丰富,降水量由沿海向内陆递减。因为该地位于山脉西侧,是暖湿的西南季风迎风坡,多地形雨。
(3)印度的恒河平原地形平坦,耕地面积广,土壤肥沃。纬度较低,热量充足。热带季风气候,雨热同期。人口稠密,劳动力资源丰富。有利于水稻种植业发展。
(4)孟买和上海都是两国重要的工业中心,经济基础雄厚。都是两国最大的港口城市,便于对外联系和交往。都是世界著名的特大城市,人力资源丰富。水域、陆域条件优越,腹地广阔,有利于形成国际大都市。
考点:区域自然地理环境特征及成因,区域农业发展的条件,区域经济发展条件。
本题难度:一般
4、单选题 读甲、乙、丙、丁四条河流量示意图,完成以下问题。
【小题1】图中依次代表湄公河、底格里斯河、恒河、塔里木河的是
A.甲、乙、丙、丁
B.丙、丁、甲、乙
C.甲、丙、丁、乙
D.丙、乙、甲、丁
【小题2】依据上题判断,影响甲河A、B、C三个汛期的主导因素分别是
A.西南季风、气温、准静止锋 B.准静止锋、气温、西南季风
C.气温、热带气旋、西南季风 D.气温、西南季风、热带气旋
参考答案:
【小题1】B
【小题2】D
本题解析:
【小题1】湄公河位于南亚地区,为热带季风气候,降水集中在夏季,因此河流在夏秋季节径流量最大,则丙是湄公河;底格里斯河位于西亚,该地主要为热带沙漠气候,降水稀少,河流主要补给来源是冰雪融水,春季时气温回升,冰雪融水量增多,河流水量大,形成汛期,夏季因气温高,蒸发旺盛,河流水量较少,因此丁为底格里斯河;恒河位于南亚地区,受西南季风和热带气旋影响大,降水丰富,河流水量大,因此甲为恒河;塔里木河位于我国西北地区,该地区气候干旱,河流主要补给来源为冰雪融水,夏季气温高,融水量大,形成汛期,因此乙是塔里木河。
【小题2】从上题分析可知,甲是恒河,该河发源于喜马拉雅山,春季,上游积雪融化补给河水,形成汛期;该地为热带季风气候,夏季降水多,降水补给河流水,形成夏汛;秋季,该地易受到热带气旋的影响而形成降水,补给河流,再次形成汛期。
考点:河流水文特征
本题难度:一般
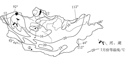
5、单选题 下图示意亚洲某内陆国水系分布和七月份气温分布情况。读图完成问题。
小题1:该国(?)
A.水汽主要来自北冰洋
B.年降水量自南向北递减
C.最大水系流域面积约占国土面积的一半以上
D.常年受西风带控制
小题2:②地的自然带为(?)
A.温带落叶阔叶林带
B.高山草甸带
C.温带荒漠带
D.亚寒带针叶林带
参考答案:
小题1:A
小题2:C
本题解析:
小题1:根据经纬度位置和轮廓可知,该国是蒙古国。离该地最近的海洋是北冰洋。所以该国水汽主要来自北冰洋。选择A项。
小题2:根据经纬度位置和轮廓可知,该国是蒙古国。处于亚欧大陆的内陆地区,气候是温带大陆性气候,形成的自然带是温带荒漠带。选择C项。
本题难度:一般