时间:2020-01-16 05:38:43
1、单选题 对地球圈层的主要特点,描述正确的是
A.大气圈是由不同类型的气体组成,干燥洁净
B.水圈是由地球表层水体构成,连续但不规则
C.生物圈是各种类型的生物的总称,生机勃勃
D.岩石圈包含着整个地壳及上地幔,厚度不均
2、单选题 地球是太阳系中的一颗普通行星。然而地球贵在是一颗适于生物生存和繁衍的行星。虽然我们相信宇宙还会有能够繁殖生命的星球,但是至今,我们还没有发现它们。据此完成下题。1.在质量、体积、平均密度和运动方向等方面与地球极为相似的行星,称为类地行星,下列属于类地行星的是2.关于地球生物出现、进化的论述,正确的是
A.火星
B.土星
C.木星
D.天王星
E.存在大气,地球上必然存在生物
F.日地距离对地球表面温度的高低没有必然的影响
G.地球体积和质量对地球大气圈的形成没有作用
H.比较安全、稳定的宇宙环境为生命的产生、发展提供了时空条件
3、单选题 读“中心天体为太阳的天体运行略图”,图中共包含的天体系统有
A.四级
B.三级
C.二级
D.一级
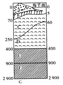
4、综合题 读地壳与地幔结构示意图,回答下列问题。
(1)写出下列字母及字母组合所表示圈层的名称。
? ?A+B是________________,C是________________顶部,E+D+C是_______________,F+E+D+C是
? ______________________。A+B+C称为_________________________。
(2)被认为是岩浆发源地的圈层是__________________层,在图中用字母___________表示。
(3)C层中的主要物质成分是含_________________的硅酸盐类,G层的物质成分以____________为主。
(4)莫霍界面是字母_____表示的两层之间的界面,古登堡界面是字母_______表示的两层之间的界面。
5、单选题 地壳内部地震波传播速度最快的圈层是
A.地壳
B.地幔
C.地核
D.软流层