时间:2020-01-08 14:56:52
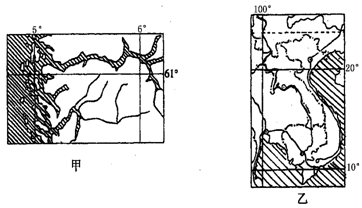
1、单选题 读下图甲和图乙,回答下列各题。
【小题1】图甲所示地区海岸线非常曲折,将会使当地 ( )
A.飓风影响范围扩大
B.温带海洋性气候范围扩大
C.洋流对沿岸的影响减弱
D.围海造田难度降低
【小题2】图乙所示地区 ( )
A.沿岸有季风洋流
B.山脉南北纵向排列
C.有小面积的沙漠分布
D.降水的季节变化不明显
【小题3】两图所示地区河流的共同特征是 ( )
A.有多种补给水源
B.有较长的结冰期
C.有凌汛
D.含沙量大
参考答案:
【小题1】B
【小题2】B
【小题3】A
本题解析:
【小题1】从经纬度位置看,图甲区域位于欧洲北部。纬度较高,没有飓风现象发生,A错。海岸线非常曲折,有利于海洋性气候范围的扩大,B对。海岸线非常曲折,洋流对沿岸的影响会增大,C错。海岸线非常曲折,围海造田难度会降低,但当地纬度较高,地广人稀,不需要围海造陆,D错。答案选B。
【小题2】从经纬度位置看,图乙区域位于亚洲东南部。属于热带季风气候区。季风洋流主要分布在北印度洋海域,该海域为太平洋海域,没有季风洋流出现,A错。图乙所示地区山河相间,纵列分布,B对。该区域为热带季风气候区,降水较多,没有小面积的沙漠分布,C错。位于热带季风气候区,降水的季节变化较明显,D错。答案选B。
【小题3】两图所示地区河流,都有雨水补给、地下水补给等多种补给水源,A对。图乙区域位于亚洲东南部,属于热带季风气候区,河流没有结冰期,B错。没有结冰期的河流,不可能出现凌汛现象,C错。两图所示地区的植被覆盖情况都较好,河流的含沙量较少,D错。答案选A
考点:该题考查两个区域气候、地形和河流等自然地理特征。
本题难度:一般
2、单选题 读全球水循环模式图,(箭头代表水循环的各个环节),据此回答下列各题
小题1: 若水循环总量为100单位,M、N分别为(?)
A.7、16
B.16、7
C.7、23
D.16、77
小题2:图中哪些环节与奔腾的长江水有关(?)
A.PMNS
B.PMTS
C.MTSN
D.SPQN
小题3:人类修建水库所在的环节是(?)
A.M
B.S
C.N
D.Q
参考答案:
小题1:C?
小题2:A?
小题3:B
本题解析:
小题1:读图,指向M的箭头只与两个数值有关,P是海水蒸发84,T代表有77以降水形式落回海洋,所以指向M的只有7个单位。指向N的两个数值,一个是M为7,另一个是Q是16,所以N是23。选项C对。A、B、D错。
小题2:读图,T指海面上的降水,与陆地径流无关,B、C错。Q代表的是全球陆地上的水汽蒸发,也包括植物的蒸腾,图示情况中Q蒸发的水汽,又重新成了N的组成部分,不会影响长江水流量,D错。只有A 对。
小题3:读图,M表示水汽输送,N表示陆地降水,Q表示陆地蒸发,S表示地表径流,人类修水库所在的是地表的河流上,所以所在环节是S,选项B对。A、C、D错。
本题难度:一般
3、单选题 下图为某半球洋流分布示意图(箭头表示洋流及流向)。读图,回答以下问题。
【小题1】图中( )
A.各大洋环流呈顺时针方向
B.大洋西岸的洋流流向均为自南向北
C.大陆东岸的洋流均属寒流
D.大洋环流形成的主要动力是盛行风
【小题2】有关图中洋流对地理环境的影响叙述正确的是( )
A.a洋流因底层冷海水上泛形成大渔场
B.b洋流可以将污染物扩散到巴西沿海
C.c洋流水温较高,易形成海雾影响航行安全
D.d洋流对沿岸气候的分布一定有影响
参考答案:
【小题1】D
【小题2】D
本题解析:
【小题1】从图中经度数值变化可以判断出该图为南半球,中低纬度洋流均为逆时针方向;大洋西岸的洋流流向均为自北向南;大陆东岸的洋流均属暖流;大洋环流形成的主要动力是东南信风和盛行西风。
【小题2】根据其位置可知,a为东澳大利亚暖流,此处没有渔场;b为南赤道暖流,位于印度洋,不能将污染物扩散到大西洋中的巴西沿海;c为西风漂流,水温低;d为秘鲁寒流,使沿岸热带沙漠气候南北延伸的范围较广。
考点:洋流
本题难度:一般
4、填空题 解决我国水资源时空分布不均的途径是
A.节约用水
B.跨流域调水
C.兴修水库
D.防止水污染
参考答案:BC
本题解析:
本题考查解决水资源的时空不均的措施。我国水资源时间分布不均,时间分配是夏季季节多,冬春季节少;空间分布均是东南沿海多,西北内陆少。解决时间不均可以修建水库,调蓄洪水;解决空间不均可以跨流域调水。所以本题选择BC选项。
本题难度:一般
5、单选题 有关洋流对地理环境的叙述,正确的是( )
A.澳大利亚东岸气候类型的形成,受寒流的显著影响
B.寒暖流交汇处,往往会很快产生暴雨
C.秘鲁附近寒暖流交汇处,成为世界著名渔场
D.北大西洋暖流对西欧海洋性气候的形成有显著的作用
参考答案:D
本题解析:
澳大利亚东岸气候类型的形成,受暖流的显著影响,A错。寒暖流交汇处,往往会形成世界性大渔场,B错。秘鲁附近单一寒流经过,成为世界著名渔场,C错。北大西洋暖流对西欧海洋性气候的形成有显著的作用,D对。
考点:洋流对沿岸地理环境的影响。
本题难度:一般