时间:2019-07-03 05:05:07
1、单选题 下图示意以北京为起点飞往我国部分直辖市或省级行政中心的方向和时间。读图,回答下列问题。
【小题1】图中①一④代表的城市分别为
A.西安 石家庄 南昌 贵阳
B.包头大庆 杭州 南宁
C.银川 大连厦门 昆明
D.呼和浩特 长春 台北 成都
【小题2】2015年3月21日
A.黄赤交角为0度
B.拉萨比重庆自转线速度大
C.沈阳与哈尔滨同时日出
D.海口正午影长达一年中最长
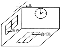
2、单选题 下图表示我国某地房屋内的光照情况,据图判断该地的经度大约是( )
A.90°E
B.150°E
C.146°E
D.86°E
3、单选题 图中a为南半球的一段纬线,b为晨昏线,c为经线。据图回答下列问题。
【小题1】.若M、P两点重合,且离南极点距离最大,PM为西经60°,此时( )
A.上海刚好日出
B.P点昼长为12小时
C.M点的夜长可能为24小时
D.伦敦正值上班高峰期
【小题2】.若M点在极点与P点之间来回移动,则当M、P两点相距最远时( )
A.北京昼夜等长
B.地球公转速度最快
C.长江中下游地区进入梅雨期
D.南极点的太阳高度为23°26′
4、单选题 下面是以北极为中心的图,斜线部分是10月8日,表示铁岭10月9日2时的应是( )
5、综合题 下图为地球日照图,图中阴影部分表示黑夜,据图完成回答下列问题。(12分)
⑴ 在图中圆外短线上标出地球自转方向。
⑵ 该图为北半球 (节气)的太阳光照图。
⑶ A与B相比,自转线速度较大的是 ,该日正午太阳高度较大的是 ,该日白昼时间较长的是 。
(4)该日A地正午物体影子朝向是