时间:2019-06-29 15:18:02
1、单选题 读下图,回答1~2题。
1.M 处的气压数值可能为2.N 处的盛行风向不可能是
A.1020.0、1012.5
B.1017.5、1020.0
C.1017.5、1015.0
D.1015.0、1012.5
E.南风
F.西风
G.西南风
H.东北风
参考答案:1. C
2. D
本题解析:1.因为相邻两条等压线的数值可能相同,也可能相差一定数值。本题 M 点与其南部(1015.0)、北部(1015.0)的等压线相对比,可知其值可能为 1012.5、1015.0、1017.5。M 点所在等压线与其西部相邻的另一等压线(1017.5)相比较,其数值可能为:1015.0、1017.5、1020.0。以上两条分析的数值交集即为 M 点可能的数值。
2.N 处位于低压中心(气旋)的南侧,气压梯度力应该由南向北(高压指向低压),在北半球右偏,应该是偏南风或西风,但不会出现偏北风。
本题难度:一般
2、综合题 读图回答问题。(15分)
(1)a、b两个等压面,数值较大的是 _,理由是_______________________。(4分)
(2)在近地面,陆地与海洋比较,气压较高的是____。(3分)
(3)仅考虑热力因素,在图中画出海陆间的热力环流。(4分)
(4)此时,北半球为____季(节),判断的理由是________ 。(4分)
参考答案:
【小题1】b 海拔较低(4分)
【小题2】海洋(3分)
【小题3】画图略(呈顺时针)(4分)
【小题4】夏 陆地气压较低,说明气温较低
本题解析:
【小题1】垂直方向上气压分布的一般规律:越往上,气压越低。
【小题2】根据近地面的等压面弯曲:高压处等压面向上凸,低压处等压面向下凹。
【小题3】结合上题分析,近地面陆地的气压较海洋低,故陆地盛行上升气流,海洋盛行下沉气流,近地面的风从海洋吹向陆地,则高空的风从陆地吹向海洋。
【小题4】结合上题分析,陆地气压较海洋低,即气温较海洋高,判断此时为夏季。
考点:本题考查等压面的判读和热力环流。
点评:本题属于基础性试题,解题的关键是能利用等压面的分布规律:同一水平面上等压面向上凸为高压,等压面向下凹为低压;垂直方向上,越往上,气压越低。结合热力环流的原理:垂直方向上气压分布相反;热空气上升,近地面形成低压;冷空气下沉,近地面形成高压。
本题难度:一般
3、综合题 如图所示长岛(南岛)位于渤海海峡,地处渤海、黄海分界线。图为北京和长岛气温统计图。读图,回答下列问题。
(1)描述长岛(南岛)的地理位置特征。(4分)
(2)与北京相比,说明长岛气温特征及其形成原因。(4分)
参考答案:
(1)位于北半球,中纬度,(亚欧)大陆东岸,岛屿,渤海和黄海的分界线(或:重要的海上交通要道)。
(2)夏季气温较低,冬季气温较高,气温年较差小。受海洋影响大
本题解析:
(1)地理位置特征主要通过半球位置、纬度位置、海陆位置和相对位置来描述,读题可知该岛位于我国东部为北半球,纬度40°附近为中纬度地区,渤海以东为亚欧大陆东岸,地处黄渤海分界线。
(2)与北京相比较该岛四周为海,气候受海洋影响较大,由图可知,该岛气温年较差较小,夏季凉爽冬季温和。
考点:本题主要考察地理位置特征的描述,海洋对气候的影响。
本题难度:一般
4、综合题 读我国南方冻雨分布图回答下列问题(12分) 
【小题1】冻雨主要分布的省级行政区简称是B 、C
【小题2】A区域比冻雨区纬度高,有史以来冻雨对A影响极小主要原因是
【小题3】关于这次冻雨的成因,叙述错误的是(双选)____________
A.受“拉尼娜”现象的影响,我国冬季风增强,造成了我国南方长时间的雨雪天气
B.北方的冷气流南下,与南方北上的暖湿气流相遇,形成冷锋天气
C.厄尔尼诺造成夏季风提前登陆,是这次冻雨的主要成因
D.1月份,太阳直射点在南半球,我国南方的太阳高度小,气温骤降形成冻雨
【小题4】除了冻雨,此区域发展农业还有那些气象灾害?
【小题5】B省大部分位于 地形区,特征是 ,多分布 地貌类型,主要是 地质作用形成。
参考答案:
【小题1】黔或贵,湘(2分)
【小题2】盆地地形,北有秦岭大巴山的阻挡,受冬季风影响小。(2分)
【小题3】CD(2分)
【小题4】春季低温阴雨,夏季洪涝、伏旱(2分)
【小题5】云贵高原;地形崎岖;喀斯特地貌;流水溶蚀(4分)
本题解析:
【小题1】根据图中地理位置判断:冻雨主要分布的省级行政区简称是B黔或贵、C湘。
【小题2】A区域比冻雨区纬度高,有史以来冻雨对A影响极小的主要原因是:A是盆地地形,北有秦岭大巴山的阻挡,受冬季风影响小。
【小题3】这次冻雨的成因,是由于我国冬季风增强,造成了我国南方长时间的雨雪天气;北方的冷气流南下,与南方北上的暖湿气流相遇,形成冷锋天气。所以本题选择CD选项。
【小题4】除了冻雨,此区域发展农业还有春季低温阴雨,夏季洪涝、伏旱等。
【小题5】B省是贵州省,大部分位于云贵高原地形区,特征是地形崎岖,多分布喀斯特地貌地貌类型,主要是流水溶蚀地质作用形成。
考点:中国的省级行政区;影响气候的主要因素。
点评:本题难度不大,需要结合区域知识对影响气候的原因进行全面分析。
本题难度:困难
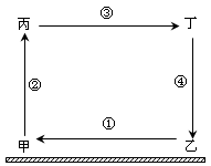
5、填空题 (9分)读图,完成下列问题。
(1)假设图为甲乙两地的热力环流图,判断甲乙丙丁四处气压由高到低的排列情况 。(2分)
(2)假设图为冬季海陆间的季风环流图,那么图中的甲地为 (填陆地或海洋),①风的性质为 。(4分)
(3)假设图为三圈环流中北半球的中纬环流图,判断甲乙的气压带名称:甲_________ 、乙 ____________;甲和乙之间的风带为_________________ 。(3分)
参考答案:
(1)乙、甲、丙、丁 (2分)
(2)海洋(2分) 寒冷干燥 (2分)
(3) 副极地低气压带 副热带高气压带 盛行西风带(3分)
本题解析:
(1)近地面气压始终高于高空,因此图中甲、乙两地气压高于丙、丁;甲地气流上升、乙地气流下沉,因此甲地气压低于乙地,高空中气压变化和近地面气压变化相反,因此图中甲乙丙丁四处气压由高到低的排列顺序是乙、甲、丙、丁。
(2)受海陆热力性质差异影响,冬季陆地散热速度比海洋快,陆地受热少、海洋受热多,因此陆地气流下沉、海洋气流上升,则甲为海洋、乙为陆地,此时风从陆地吹向海洋,寒冷干燥。
(3)中纬度指30°到60°之间,其中30°附近气流下沉形成副热带高压带,60°附近气流上升形成副极地低压带,两气压带之间形成西风带,则图中甲、乙分别为副极地低气压带、副热带高气压带,二者之间为盛行西风带。
考点:气压带风带
本题难度:一般