时间:2019-06-29 13:51:35
1、单选题 下图是2013年2月17日中午卫星拍摄的美国南加州海岸上空形成的大气涡流。该涡流呈逆时针方向旋转,中心在北纬32度、西经120度附近。
小题1:该大气涡流反映的天气系统是
A.热带气旋
B.温带气旋
C.台风
D.反气旋
小题2:该天气系统对南加州海岸地区将带来
A.和风细雨
B.狂风巨浪
C.高温干燥
D.阴冷雾霾
参考答案:
小题1:B
小题2:B
本题解析:
小题1:根据材料“大气涡流,该涡流呈逆时针方向旋转”可推测为气旋,根据出现的位置“中心在北纬32度”可推测为温带,故B对。
小题1:此天气系统为温带气旋,会带来大风和降水,和风细雨、高温干燥和阴冷雾霾都不符合条件,所以可知道B正确。
本题难度:一般
2、单选题 读”风向示意图”,当风速稳定后,判断下列叙述正确的是:( )
A.等压线数值①<②<③
B.a是地转偏向力
C.此风形成于南半球
D.该风形成于高空
参考答案:B
本题解析:根据图示垂直于等压线的水平气压梯度力由高压指向低压,故判断③<②<①;A错误;a与风向相垂直,故判断为地转偏向力,故B正确;图示风向在水平气压梯度力的基础上向右偏,故判断为北半球;风受三个力作用,故判断为近地面的风。
考点:本题考查三个力对风的影响。
点评:本题解题的关键是掌握风的形成的基本原理和三个力的各自特征,难度较低。本题还可结合不同等压线分布图上的风向判断考查。
本题难度:一般
3、单选题 形成风的直接原因是
A.地球引力
B.太阳辐射能
C.水平气压梯度力
D.地转偏向力
参考答案:C
本题解析:水平气压梯度力是大气产生水平运动的原动力,是形成风的直接原因。
本题难度:困难
4、单选题 图中数字代号表示珀斯、新加坡、南京、芝加哥四个城市。根据图示资料,判断各题。
小题1:四个城市中,7月气温低于1月气温的是
A.①
B.②
C.③
D.④
小题2:图中城市④是
A.珀斯
B.新加坡
C.南京
D.芝加哥
小题3:下列因素中,对城市①年降水量影响较大的是
A.附近有寒流经过
B.附近有暖流经过
C.地处热带地区
D.受赤道低压控制
参考答案:
小题1:B
小题2:D
小题3:D
本题解析:
小题1:根据图中气温判断,①和②1月气温较高。①地降水量多,所以①为热带雨林气候,则②为珀斯,位于南半球,7月气温低于1月气温。所以本题选择B选项。
小题2:图中④的最冷月气温低于0℃,南京位于亚热带地区,1月气温高于0℃,则④为芝加哥。所以本题选择D选项。
小题3:热带雨林气候的形成主要得益于赤道低压的控制。赤道低压控制,降水量大。所以本题选择D选项。
本题难度:简单
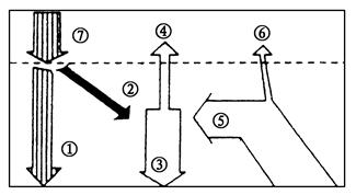
5、单选题 下图为大气受热过程示意图。完成小题。
【小题1】现在我们都在提倡低碳生活,实现低碳生活会使图中( )
A.①减少
B.②减少
C.③减少
D.⑤减少
【小题2】与青藏高原小麦产量高、质量好有关的是( )
A.①小②大
B.①大③小
C.③小⑦大
D.④大⑥小
参考答案:
【小题1】C
【小题2】B
本题解析:
【小题1】(1)低碳生活可以减少二氧化碳的排放,从而减弱大气对地面的保温作用,图中起保温作用的大气逆辐射是图中序号③。
【小题2】由图可知⑦①②为太阳辐射,⑤⑥为地面辐射,③为大气逆辐射,④为大气辐射射向宇宙空间的部分;青藏高原地势高、空气稀薄,③、⑤较小使其气温比同纬度的四川盆地低,同时由于①大、③小导致当地太阳辐射强、气温日较差大而使小麦产量高,质量好。
本题难度:一般