时间:2019-06-28 16:26:11
1、单选题 下表是南方我国某地区1961—1990年气候资料,根据要求回答题
| 月份 | 1 | 2 | 3 | 4 | 5 | 6 | 7 | 8 | 9 | 10 | 11 | 12 |
| 平均气温(℃) | 14.4 | 14.6 | 16.8 | 20.8 | 24.1 | 26.5 | 28.4 | 28.3 | 26.4 | 23.3 | 19.8 | 16.2 |
| 降雨量 (毫米) | 103.3 | 192.6 | 211.9 | 127.9 | 214.4 | 200.4 | 113.2 | 117.2 | 151.3 | 104.3 | 96.6 | 81.0 |

2、单选题 某区域海平面等压线分布图(单位:hpa),其中箭头表示的风向,正确的是

[? ]
3、单选题 读下图(a.b.c代表图中等值线相应的数值),回答下列各题。
【小题1】若图中曲线为等高线,且a>b>c,则下列说法正确的是( )
A.pq线为山谷线,集水线
B.pq线为山脊线,分水线
C.mn线为山脊线,集水线
D.mn线为山谷线,分水线
【小题2】若图中曲线为垂直方向高空等压面分布图,且a>b>c,则下列说法正确的是( )
A.q对应的近地面天气多晴朗
B.n对应的近地面天气多晴朗
C.q对应的近地面气压一定比n地近地面气压高
D.q点气压一定比m点气压低
【小题3】若图中曲线为近地面等温线, a>b>c,且图示地区为大范围的、海陆兼备的地区,pq位于陆地,mn位于海洋,则此时( )
A.m地可能有寒流通过
B.地中海表层海水盐度为一年中最低
C.潘帕斯草原草木茂盛
D.p地可能盛行冬季风
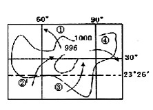
4、单选题 下图为大气运动示意图,M线代表地球表面。据图回答1~3题。 
1、若此图表示热力环流,则
[? ]
A、丙处气压比甲处高
B、甲处气温比乙处高
C、丙处气压比丁处低
D、甲处气温比丙处低
2、若此图表示大气三圈环流中的低纬环流,则
[? ]
A、③气流比较湿润
B、④气流给我国夏季带来丰沛降水
C、甲是副热带高气压带
D、乙处高压的形成与②气流有关
3、若此图表示亚洲东部夏季季风环流,则
[? ]
A、甲处是海洋,乙处是陆地
B、乙处天气以晴朗为主
C、①气流较③气流湿润
D、④气流由低纬流向高纬
5、单选题 日照率是指一定时段内,实际日照总时数占可照总时数的百分率,下图为我国四地多年平均日照率月份变化统计图。读图完成下列小题。
【小题1】下列说法正确的是( )
A.四地日照率冬季差异最小
B.哈密日照率高主要原因是纬度高
C.北京日照率全年变化最小
D.上海受“副高”影响时日照率高
【小题2】M地最可能是( )
A.重庆
B.哈尔滨
C.呼和浩特
D.拉萨