时间:2019-06-28 15:27:05
1、单选题 读我国海平面及主要入海河流年总输沙量变化图,据此完成下题。
【小题1】据图推断,近年我国( )
A.河口附近海岸侵蚀后退
B.台风破坏程度明显降低
C.沿岸湿地的面积缩小
D.滨海盐碱化趋势减弱
【小题2】我国主要入海河流年总输沙量变化可能是由于( )
A.水土流失现象加剧
B.修建水库数量增多
C.河流沿岸大规模挖砂
D.近十年降水持续偏多
2、单选题 读下图,回答1—2题。
1、若此图示意海陆间水循环,则
[? ]
A.乙为海洋,甲为陆地
B.我国的夏季风属环节②
C.环节④能给陆地补充淡水
D.环节①一定能造成黄土高原的千沟万壑
2、若此图表示水平大洋环流,甲、乙两地全年昼夜基本上平分,则该环流中易形成规模较大的渔场的是
[? ]
A.甲地
B.乙地
C.丙地
D.丁地
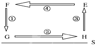
3、单选题 构建模式图,探究地理基本原理、过程、成因及规律,是学习地理的方法之一。读图,回答下列各题。
【小题1】如果该图为海陆间水循环模式,S线代表地球表面,则( )
A.环节①参与地表淡水资源的补给
B.环节②是陆地自然带形成的基础
C.环节③使大洋表面海水的盐度降低
D.环节④的运动距离与下垫面无关
【小题2】如果该图为世界洋流模式的南半球部分,S线代表纬线,则( )
A.洋流①对沿岸气候有降温、减湿作用
B.洋流②为西风漂流
C.洋流③对沿岸气候有增温、增湿作用
D.洋流④为赤道逆流
4、单选题 我国内流河的主要特点是(?)
A.多为季节性河流
B.河流水量季节变化不明显
C.以降水补给为主
D.流量从上游到下游逐渐增加
5、单选题 下图是自然环境某物质循环的局部示意图,读图完成1 ~2 题。
1.若该图是水循环的局部示意图,其中椭圆表示海洋,则箭头②可能表示
[?]
A.地表径流?
B.地下径流?
C.大气降水?
D.蒸发
2.若该图是岩石圈物质循环的局部示意图,其中椭圆代表沉积岩,则①表示
[?]
A.岩浆活动?
B.变质作用?
C.外力作用?
D.地壳运动