时间:2019-06-28 14:08:36
1、单选题 ? 水位是指河流某处的水面海拔高度,一年中等于和大于某一水位出现的次数之和称之为历时。读下面“水位过程线与历时曲线”图。回答(1)——(3)题。 
(1)该河流的主要补给水源为
[? ]
? A、大气降水
? B、季节性积雪融水
? C、高山冰雪融水
? D、地下水
(2)该观测站的位置最可能位于
[? ]
? A、青藏高原
? B、黄土高原
? C、东北平原
? D、长江中下游平原
(3)若在该测站上游修建一水库后,则历时曲线上的M、N点将
[? ]
? A、M、N同时右移
? B、M左移,N右移
? C、M、N同时左移
? D、M右移,N左移
2、单选题 鄱阳湖上承赣、抚、信、饶、修五河之水,下接长江。丰水季节浪涌波腾,浩瀚万顷,水天相连;枯水季节水落滩出,枯水一线,野草丰茂,芦苇丛丛;湖畔峰岭绵延,沙山起伏,沃野千里,候鸟翩飞,牛羊倘佯。美丽富饶的鄱阳湖养育了世代生长居息湖畔的万物生灵。下图表示鄱阳湖生态经济区范围。读图,完成下列各题。
【小题1】鄱阳湖对长江水体的最重要作用是( )
A.维护生物的多样性
B.调节水量
C.增加长江入河水量
D.调节气候
【小题2】下列人类活动有利于鄱阳湖湖区生态建设的是( )
A.继续加大围湖造田的力度,增加耕地面积
B.在湖区建设湿地公园,恢复湿地植被
C.在金沙江地区建立自然保护区
D.在生态经济区范围内禁止工业发展
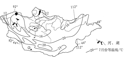
3、单选题 下图示意亚洲某内陆国水系分布和七月份气温分布情况。读图完成问题。
1.该国2.②地的自然带为
A.水汽主要来自北冰洋
B.年降水量自南向北递减
C.最大水系流域面积约占国土面积的一半以上
D.常年受西风带控制
E.温带落叶阔叶林带
F.高山草甸带
G.温带荒漠带
H.亚寒带针叶林带
4、单选题 目前人类比较容易利用的淡水资源是①江河水②湖泊淡水③冰川④浅层地下淡水
[? ]
5、单选题 读下面两幅图,甲图为1990年至2001年太湖劣于Ⅲ类水质变化图,乙图为2005年太湖水质状况分布图。据此回答22~23题。
小题1:从甲图可以看出,1991年至2001年太湖水质状况的变化趋势及其形成的自然原因是
A.水体质量不断变好;水体流动快,自净能力强
B.水体质量基本没有变化;太湖面积大
C.水体质量整体不断下降,1996年水质最差;水体流动缓慢,自净能力弱
D.水体质量波动上升;降水丰富,湖水补给充足
小题2:乙图反映了太湖水域水质状况的分布规律是
A.东北部水质优于东南部水质
B.西部水质优于东部水质
C.北部水质优于南部水质
D.东南部水质优于西北部水质