时间:2019-06-28 13:53:56
1、单选题 读气候资料图,回答1—2题。 
1、图中①气候类型为
[? ]
A、温带季风气候
B、地中海气候
C、亚热带季风气候
D、温带大陆性气候
2、关于三种气候类型的叙述正确的是
[? ]
A、①气候类型受气压带、风带的交替控制
B、②气候类型主要分布在亚热带大陆东岸
C、③气候类型最适合发展商品谷物农业
D、①、②、③气候类型夏季均为高温少雨
2、单选题 该图为沿某岛屿20°纬线地形剖面及两地气候统计图,据图完成34~35题。
小题1:该岛甲、乙两地都是
A.1月降水量最大
B.2~6月的降水量逐月增加
C.7月气温最低
D.8~12月气温逐月递减
小题2:甲地比乙地降水量小的主要原因为
A.地处背风地带
B.海拔较高
C.受沿岸寒流影响
D.距海较远
3、单选题 气溶胶是大气中悬浮的液态或固态微粒的总称,是大气的重要组成部分。就其来源可分为人为气溶胶和自然气溶胶两种。气溶胶光学厚度(AOD)通常用以推算气溶胶含量。读中国多年平均气溶胶厚度等值线分布图,回答下列各题。
【小题1】图中A、B两地AOD数值的差值可能为( )
A.0.1 B.0.3
C.0.5 D.0.9
【小题2】图中A、B两地同在四川,但AOD值差别却很大,分析两地AOD值差异大的主要原因( )
①A地地势高 ② B地植被覆盖率高 ③A地工农业活动多 ④ B地人口密度大
A.①② B.②③
C.③④ D.①④
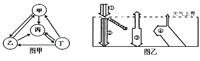
4、单选题 2013年8月18日下午,日本鹿儿岛县樱岛的昭和火山口发生爆炸性喷发,喷出的烟尘高达5000米,为观测史上最高的一次。大量火山灰直冲云霄。图甲为“地壳物质循环示意图”,图乙为“大气受热过程示意图”。读图完成下列小题。
【小题1】与昭和火山喷发形成的岩石类型一致的是图甲中的( )
A.甲
B.乙
C.丙
D.丁
【小题2】图乙数码所示辐射中,直接受弥漫在大气中的火山灰影响而减弱的是 ( )
A.①
B.②
C.③
D.④
5、单选题 中国南极第四个考察站——泰山站于2014年1月建立。读“我国南极考察站分布图和景观图”,结合所学知识回答下列小题。
【小题1】读南极考察站分布图判断,下列说法正确的是
A.中山站极昼时间最长
B.昆仑站气压最高
C.泰山站光照时间最长
D.长城站降雪量最大
【小题2】我国南极泰山站的五星红旗常年
A.向西北飘扬
B.向东北飘扬
C.向西南飘扬
D.向东南飘扬