时间:2019-06-28 13:52:54
1、单选题 下图是X、Y两国人口年龄金字塔图,读图回答小题。
小题1:X国人口增长的特点是(?)
A.高出生率、高死亡率、低自然增长率
B.高出生率、低死亡率、高自然增长率
C.低出生率、高死亡率、低自然增长率
D.低出生率、低死亡率、低自然增长率
小题2:造成X、Y两国人口增长模式的根本差异是(?)
A.经济发展水平
B.教育水平
C.历史条件
D.自然条件
小题3:与Y国人口增长模式相同的是(?)
A.中国
B.印度
C.泰国
D.日本
参考答案:
小题1:B
小题2:A
小题3:D
本题解析:
小题1:X国的人口金字塔图下宽上窄,呈扩张型,青少年、幼儿人口比重大,而老年人口比重小,是人口出生率、自然增长率都长期高的结果,人口增长的特点是高出生率、低死亡率、高自然增长率。正确答案选B。
小题2:人口增长模式,又称为人口转变模式,它反映了不同国家和地区人口出生率、死亡率和自然增长率随社会经济条件变化而变化的规律。造成X、Y两国人口增长模式的根本差异是经济发展水平。正确答案选A。
小题3:Y国的人口金字塔图底部收缩,上部变宽,呈收缩型,少年儿童比重缩小,老年人口比重增大,人口老龄化问题突出,其人口增长模式属于“三低”模式。与Y国人口增长模式相同的是日本。正确答案选D。
点评:本题难度适中。要求学生熟练掌握人口增长模式及其模式转变。
阶段
原始低增长阶段
(原始型)
加速增长阶段
(传统型)
增长减缓阶段
(过渡型)
低速增长阶段
(现代型)
人口增长模式
“高高低”模式
“高低高”模式
“过渡”模式
“低低低”模式
特
点
出生率
高
较高
开始下降,较低
进一步下降,低
?
死亡率
高
迅速下降,较低
继续下降,低
低
?
自然增长率
低,波动大
提高,高
逐渐降低
低
社会发展阶段
农业社会
工业化初期
发展中国家目前
欧洲发达国家现在
典型地区
热带原始森林深处土著居民
非洲东部的坦桑尼亚、肯尼亚等国
大多数发展中国家
德国、英国、法国等国
本题难度:一般
2、单选题 下图是“某四国人口金字塔示意图”,据此完成题。?
小题1:可能出现人口就业压力较大的国家是?
A.A国
B.B国
C.C国
D.D国
小题2:可能出现劳动力不足和近年来可能有大批移民流入的国家分别是
A.A国和B国
B.D国和B国
C.A国和C国
D.C国和D国
参考答案:
小题1:A
小题2:B
本题解析:
小题1:由图可以看出,A国出生率高,死亡率低,年轻人口占的比重大,就业压力大。
小题2:由图中信息可以判断,C国和D国人口老龄化现象明显,可能出现劳动力不足的问题。
点评:本题难度较小。要求学生熟练掌握不同人口金字塔所代表的阶段及面临的问题。
本题难度:一般
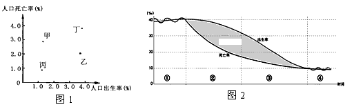
3、单选题 ? 图1为“甲、乙、丙、丁四个国家的人口增长状况图”,图2为“不同阶段的人口发展模式图”。读图回答1—2题。 
1、图1中四个国家人口增长特点与图2人口增长阶段对应正确的是
[? ]
A、甲——①
B、乙——②
C、丙——③
D、丁——④
2、影响丙国人口增长模式的主要因素有
? ①人口受教育程度较低 ②人们的生育意愿较低 ③医疗卫生水平较低 ④经济发展水平较高
[? ]
A、①②
B、②③
C、②④
D、③④
参考答案:1、B
2、C
本题解析:
本题难度:简单
4、综合题 阅读材料,回答下列问题。
材料一:国务院决定,我国于2010年11月1日0时进行第六次全国人口普查。此次普查主要调查人口和住户的基本情况,内容包括性别、年龄等。图为2000年与2050年中国人口的年龄性别结构图。
材料二:下面甲图为1950-2010年中国人口增长预测统计图,乙图为1950—2050年中国和全球14岁以下与65岁以上人口百分比统计折线图(2010—2050年数据为预测值)。
小题1:据材料一中信息判断,2000年与2050年中国人口的年龄性别结构的共同特点是( )
①人口总量庞大
②人口老龄化现象十分严重
③0—4岁年龄段男性人口多于女性
④老年人口女性多于男性
A.①②
B.③④
C.①②③
D.①②③④
小题2:结合材料二中1950—2010年中国人口增长统计图,说明我国人口的基本特点。
小题3:根据材料二中1950-2050年中国14岁以下与65岁以上人口百分比统计折线图可以看出,我国65岁以上人口数量首次超过14岁以下人口数量的时间大约在_______年,试说明造成中国人口老龄化加速的原因以及对我国经济的发展将带来的负面影响。
参考答案:
小题1:B
小题1:人口增长快、人口基数大、年龄结构偏年轻;农村人口比重大、文化素质低。
小题1:2030;
原因:一是长期以来实行计划生育政策出现的较低生育率;二是经济的快速增长、科学技术的进步、医疗卫生条件的改善和生活水平的提高,使人口寿命大大延长。
负面影响:劳动力不足,老年人口比例大,社会负担重等。
本题解析:考查人口问题。
小题1:注意题干要求“年龄性别结构”,①并没有说到年龄性别结构,不选;从2000年人口年龄结构看,人口老龄化现象还不是很严重,②不选。
小题1:根据图甲看出,人口增长快、人口基数大,由5亿增长到13亿;农村人口比重大,农村人口超过60%以上。
小题1:两条折线在2030年相交,之后65岁以上人口数量超过14岁以下人口数量。
实行计划生育政策出现的较低生育率,使得14岁以下人口比重下降;社会经济发展,使得人口寿命大大延长,65岁以上人口比重上升。老龄化会增加社会负担,导致青壮年劳动力不足。
本题难度:一般
5、综合题 读“人口增长模式及其转变示意图”,完成下列问题。(9分)
⑴人口增长模式是由 ? 、 ?和 ?三项指标共同构成的。
⑵图中A、B、C三时段与三种人口增长模式有对应关系,三个字母代表的分别是:
A时段人口增长模式是 ? 型,B是 ? 型,C是 ? 型。
⑶图中曲线①②,表示人口出生率的是? ,请说出判断理由:
参考答案:(1)出生率?死亡率?自然增长率(3分)
(2)原始?传统?现代?(3分)
(3)①?(1分)?世界人口是不断增长的,所以出生率大于死亡率或随着生产力
水平?的不断提高,首先下降的是死亡率。(2分)
本题解析:本题考查人口增长。
(1)人口增长模式由人口出生率、死亡率和自热增长率决定;
(2)A时期,人口增长特征:极高的出生率、极高的死亡率、极低的人口自然增长率,故
属于原始型;B阶段,人口出生率高、死亡率低、自然增长率高,故为传统型;C阶段人口
出生率低、死亡率低、自然增长率低,为现代型。
(3)①,人口增长模式的变化是从人口死亡率的下降开始的。而且在人口社会发展的早期,
一直是人口出生率大于死亡率。
本题难度:一般