高中地理知识点大全《地域文化对人口或城市的影响》答题技巧(2019年最新版)(五)

时间:2019-06-28 13:16:41

微信搜索关注"91考试网"公众号,领30元,获取事业编教师公务员等考试资料40G

1、综合题  读“巴黎市区及附近地区人口变化表”及其示意图,完成下列要求:(12分)


⑴巴黎最初建城选择在塞纳河中的一个小岛上,说明河流对城市除具有供水和运输功能外,还具有?功能。
⑵从表中材料可以看出,近年来人口负增长的是?地区和?地区,人口增长率最高的是?地区。
⑶在此期间巴黎市人口大量往郊区迁移,产生这种现象的主要原因有?



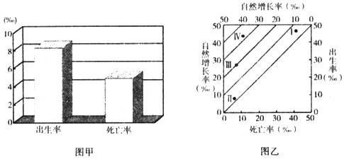
2、单选题  图甲表示“我国2008年某市人口出生率和死亡率”,图乙为“我国不同阶段人口增长状况图”,读图回答1~3题

1、关于图甲所示城市人口自然增长特点的叙述,正确的是
[? ]
A、高出生率、高死亡率
B、高出生率、低死亡率
C、人口数量呈下降趋势
D、人口数量增长较缓
2、图甲所示城市人口自然增长状况最接近图乙中的
[? ]
A、I阶段
B、Ⅱ阶段
C、Ⅲ阶段
D、Ⅳ阶段
3、该城市今后在人口工作中应①加强老年人的社会保障工作②鼓励生育,提高少年儿童比例③大量吸纳农村剩余劳动力④继续保持较低的人口生育水平
[? ]
A、①③
B、①④
C、②③
D、③④



3、单选题  图反映了世界较发达区域、欠发达区域1950—2050年城市和农村人口发展(含预测)情况。读图,完成下列各题。

小题1:2007年至2050年期间,世界人口预计将增加25亿,世界城市人口预计将增加31亿。两者之间的差额代表?(?)
A.人口自然增长率的提高
B.农村向城市迁移的人口
C.旧城区的改造
D.逆城市化的进行
小题2:据图可知?(?)
A.目前世界城市人口主要分布在城市化水平高的较发达区域
B.1950—2050年期间较发达区域平均城市化水平随着逆城市化的进行而下降
C.2020年世界城市人口在历史上首次超过农村人口
D.未来人口增长将主要集中在发展中国家的城镇



4、单选题  ? “丁克”(DINKS)家庭,也称为自愿不生育家庭,是“Double Income,No Kids”缩写的音译,其含义为“双份收入,不要孩子”。丁克家庭反映的地域文化特征是
[? ]
A、南亚文化
B、中亚文化
C、中国文化
D、欧美文化



5、单选题  高出生率、低死亡率和高自然增长率为特征的人口再生产类型称为:
A.?原始型? B传统型? C.过渡型? D.现代型?




首页 上页 4 5 6 下页 尾页 5/10/10
微信搜索关注"91考试网"公众号,领30元,获取公务员事业编教师考试资料40G
【省市县地区导航】【考试题库导航】
 ★ 高考省级导航 ★ 
全国 A安徽 B北京 C重庆 F福建 G广东 广西 甘肃 贵州 H河南 河北 湖南 湖北 黑龙江 海南 J江苏 江西 吉林 L辽宁 N内蒙古 宁夏 Q青海 S山东 山西 陕西 四川 上海 T天津 X新疆 西藏 Y云南 Z浙江
 ★ 高考信息汇总 ★ 
 ★ 高考历年真题 ★ 
 ★ 高考历年真题 ★ 
 ★ 高考题库 ★ 
 ★ 高考题库 ★ 

电脑版  |  手机版  |  返回顶部