时间:2019-06-26 15:28:57
1、单选题 图为“南美洲局部地区气候类型分布图”,读图回答:
1.关于图中所示区域中气候类型叙述正确的是2.关于甲、乙两地气候成因的叙述正确的是3.图中回归线附近大陆西岸洋流对该区域的影响正确的是
A.a气候的雨季均在11月至次年4月
B.c气候在6—8月期间温和多雨
C.d气候的形成原因是该地远离海洋
D.e气候分布在纬度10°—20°的大陆东岸
E.甲、乙两地终年受赤道低气压带控制
F.甲、乙两地受赤道低气压带和信风带交替控制
G.乙地气候的形成与地处东北信风的迎风坡有关
H.乙地气候的形成与沿岸暖流有关
I.南行船只一路顺流
G.使沿岸气候更加湿润
使f气候向低纬延伸
寒暖流交汇形成渔场
2、综合题 读下面地理景观模式示意图,AB表示昏线,H1和H2分别代表当地对流层的高度,此时南极圈以内全部出现极昼现象,回答后面问题。
【小题1】此时a角的度数________。北京时间是________。
【小题2】A、B两地对流层H1和H2厚薄关系是________。
【小题3】海洋C处此时气压中心的性质是________,简述其成因________________。
【小题4】D处气候特点是________________。
【小题5】M应属于地球圈层中的________层。
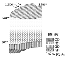
3、单选题 读世界某大陆局部气候类型分布图,完成下列问题。
小题1:当图中北部地区受图中所示盛行风影响时,以下说法正确的是
A.长江中下游地区莺飞草长
B.潘帕斯草原草木枯黄
C.地中海沿岸温和湿润
D.南极附近出现极光
小题2:此季节,对①②③④地气候特点及其成因说法正确的是
A.①地受盛行西风带控制,高温多雨
B.②地受来自低纬内陆的西北风影响,炎热干燥
C.③地受副热带高压的影响,高温多雨
D.④地受副热带高压的影响,炎热干燥
4、综合题 (10分)阅读材料,完成下列问题。
下图为2015年1月27日20时世界海平面气压(hPa)局部分布图。
(1)描述中国大陆东部地区的等压线分布特点并说明A气压中心的形成原因。(4分)
(2)简述图中时刻B点天气状况及成因。(4分)
(3)据图判断中国四大临海中风浪最大的海域并说明理由。(2分)
5、单选题 下图示意一年中赤道低气压带的位置变化规律(图中数字为月份与日期),赤道低气压带向北移动幅度大,控制范围广的原因是( )
A.北半球的陆地面积大于南半球
B.南极地区的极夜时间长于北极地区
C.北半球的夏半年时间长于南半球
D.北半球的陆地面积大于海洋面积