高考地理知识点总结《水的运动》考点预测(2017年强化版)(六)

时间:2017-09-25 14:41:17

微信搜索关注"91考试网"公众号,领30元,获取事业编教师公务员等考试资料40G

1、单选题  目前人类比较容易利用的淡水资源是(? )
A.河水,浅层地下水,深层地下水
B.河水,冰川水,浅层地下水
C.河水,浅层地下水,淡水湖泊水
D.冰川水,浅层地下水,淡水湖泊水


参考答案:C


本题解析:本题考查水资源。目前人类主要利用的水资源包括河流水、淡水湖泊水和浅层地下水;


本题难度:一般



2、单选题  读某地等高线图,下图(等高距:100米),回答下列各题。

【小题1】图中河流的流向是(   )
A.东北流向西南
B.东南流向西北
C.西南流向东北
D.西北流向东南
【小题2】X点和Y点之间的相对高度可能是(    )
A.290米
B.385米
C.550米
D.632米


参考答案:
【小题1】B
【小题2】B


本题解析:
【小题1】河流流向与等高线凸出方向相反。根据图中指向标判断,河流整体上流向是东南流向西北,B对。
【小题2】图中等高距是100米,所以a是200米,b是500米。根据等值线的递变规律,X的范围是100-200米,Y的范围是 500-600米。所以高差范围是300-500米,B对。
考点:等高线图,河流流向,相对高度。


本题难度:一般



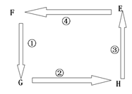
3、单选题  读图完成12~14题。

小题1:若该图为海陆间水循环示意图,下列城市中,过程④在一年之中持续时间最长的是
A.上海
B.鹿特丹
C.孟买
D.开普敦
小题2:若该图为太平洋环流示意图,且E、F两地附近全年昼夜等长,则
A.①洋流沿岸地区形成大面积的温带落叶阔叶林
B.②洋流自西向东依次穿过大西洋、太平洋、印度洋
C.③洋流附近形成热带荒漠景观
D.④洋流属于风海流,是东亚和北美太平洋间最佳航线
小题3:当“拉尼娜”发生时,住往会出现的现象是
A.热带太平洋东部暴雨频繁
B.南美太平洋沿岸鱼类大量死亡
C.东南亚地区持续干旱
D.亚洲东部沿海台风次数增加


参考答案:
小题1:B
小题2:C
小题3:D


本题解析:
小题1:过程④是水气输送,雨季越长,该过程持续时间越长;四地中,位于温带海洋性气候区的鹿特丹雨季最长。所以选择B选项。
小题2:“E、F两地附近全年昼夜等长”说明其位于赤道;若该图为太平洋环流示意图,则该大洋环流为南太平洋以副热带海域为中心的大洋环流,箭头依次表示东澳大利亚暖流、西风漂流、秘鲁寒流、南赤道暖流;①洋流沿岸地区形成大面积常绿阔叶林;②洋流自西向东依次穿过大西洋、印度洋、太平洋;③洋流为寒流,对沿岸地区有降温减湿作用,荒漠直逼海岸;最佳航线的选择与航向有关。所以选择C选项。
小题3:拉尼娜现象发生时,由于热带太平洋海温西暖东冷的结构,造成西太平洋暖池区对流活跃,容易造成夏季台风活动偏多,初夏生成台风和汛期影响我国的台风可能较为活跃,并有利于北上台风的活动。所以选择D选项。


本题难度:一般



4、单选题  下左图为我国某河流河道示意图,甲为一河心沙洲,下右图为该沙洲一年内面积变化统计图,读图完成1—2题。

1.对于该河的叙述,正确的是
[? ]
A.若P河道为该河主航道,则该河段的流向为西南流向东北
B.若河流上游修筑水坝,则河心洲面积增长速度减慢
C.若该河段为自西向东流,则Q河道将慢慢变浅
D.该河段可能在我国西北地区
2.该河所在的地区适宜种植的农作物是
[? ]
A.棉花
B.柑橘
C.大豆
D.椰子


参考答案:1、B
2、C


本题解析:


本题难度:一般



5、单选题  河流径流量的变化与河流所在流域的植被覆盖情况有着密切的联系。读左图“某地降水量”与右图“河流径流量日变化示意图”,回答35-36题。

35. 右图中最能反映集水区内植被覆盖良好的流量曲线是
A. ①?B. ②?C. ③? D. ④
36. 植树造林增加植被覆盖率是保持水土的最为有效的措施,对河流径流量的调节作用也很明显。下图中四幅图(比例尺相同)中的植树造林方案,效果最明显的是

A. ①?B. ②? C. ③?D. ④


参考答案:
小题1:D
小题2:B


本题解析:本题考查河流。
小题1:若集水区内植被覆盖良好,由于植被能涵养水源,降低地表径流的流速,故植被覆盖好,则河流径
流达到最大值较降水量最大要晚,故选D项。
小题2:山坡植树的一般规律:树行与水流方向垂直,即与等高线平行。故选B项。


本题难度:一般




首页 上页 5 6 7 下页 尾页 6/10/10
微信搜索关注"91考试网"公众号,领30元,获取公务员事业编教师考试资料40G
【省市县地区导航】【考试题库导航】
 ★ 高考省级导航 ★ 
全国 A安徽 B北京 C重庆 F福建 G广东 广西 甘肃 贵州 H河南 河北 湖南 湖北 黑龙江 海南 J江苏 江西 吉林 L辽宁 N内蒙古 宁夏 Q青海 S山东 山西 陕西 四川 上海 T天津 X新疆 西藏 Y云南 Z浙江
 ★ 高考信息汇总 ★ 
 ★ 高考历年真题 ★ 
 ★ 高考历年真题 ★ 
 ★ 高考题库 ★ 
 ★ 高考题库 ★ 

电脑版  |  手机版  |  返回顶部