高考生物知识点总结《叶绿体色素的提取和分离》考点强化练习(2017年押题版)(九)

时间:2017-07-31 10:10:41

微信搜索关注"91考试网"公众号,领30元,获取事业编教师公务员等考试资料40G

1、填空题  (1)甲同学利用新鲜的玉米绿色叶片进行“叶绿体色素提取和分离”实验,在滤纸上出现了四条清晰的色素带,其中呈黄绿色的色素带为__________。
(2)该同学改变层析液组成后继续进行实验,滤纸条上只出现了黄、绿两条色素带。他用刀片裁出带有色素带的滤纸条,用乙醚分别溶解条带上的色素,浓缩后用分析仪器检测,通过分析色素溶液的______来判断条带的色素种类。
(3)实验结束几天后,乙、丙两同学发现部分预留叶片已变黄,乙同学认为这是由于叶片中某些色素降解所造成的,丙同学则认为某些色素含量增加。根据所学知识,你将如何设计实验来判断两个同学的观点是否正确?


参考答案:(1)叶绿素b
(2)吸收光谱
(3)从预留的叶片中挑选出足量的、份量相等、大小相近的已变黄的叶片和尚未变黄的叶片为实验材料,在相同条件下,再次进行叶绿体色素的提取分离实验。测定和记录实验结果,比较这两种叶片各种色素的组成及含量后,得出结论。


本题解析:


本题难度:一般



2、选择题  下列有关“叶绿体色素的提取和分离”的实验叙述正确的是
[? ]
A.加入碳酸钙防止滤液挥发
B.用NaCl溶液提取叶片中的色素
C.用无水乙醇或丙酮分离滤液中的色素
D.加入二氧化硅(石英砂)有利于充分研磨


参考答案:D


本题解析:


本题难度:简单



3、选择题  进行“绿叶中色素的提取和分离”实验时,用于防止色素被破坏的试剂是

[? ]


A.二氧化硅
B.酒精
C.碳酸钙
D.盐酸


参考答案:C


本题解析:


本题难度:简单



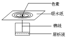
4、选择题  某同学在做色素分离实验过程中,积极改进实验。设计了如下图实验,由此在吸水纸上得到四个同心圆,试问同心圆的最外层色素圈为:


[? ]


A.叶绿素a
B.叶绿素b
C.叶黄素
D.胡萝卜素


参考答案:D


本题解析:


本题难度:简单



5、选择题  “检测生物组织中的糖类、脂肪和蛋白质”“植物细胞的吸水和失水”“叶绿体中色素的提取和分离”“观察DNA和RNA在细胞中的分布”四个实验的共同点是
[? ]
A.实验设计中都需要有对照
B.实验过程中都要加热
C.实验结果都有颜色变化
D.实验材料都要保持生物活性


参考答案:C


本题解析:


本题难度:一般




首页 上页 8 9 10 下页 尾页 9/10/10
微信搜索关注"91考试网"公众号,领30元,获取公务员事业编教师考试资料40G
【省市县地区导航】【考试题库导航】
 ★ 高考省级导航 ★ 
全国 A安徽 B北京 C重庆 F福建 G广东 广西 甘肃 贵州 H河南 河北 湖南 湖北 黑龙江 海南 J江苏 江西 吉林 L辽宁 N内蒙古 宁夏 Q青海 S山东 山西 陕西 四川 上海 T天津 X新疆 西藏 Y云南 Z浙江
 ★ 高考信息汇总 ★ 
 ★ 高考历年真题 ★ 
 ★ 高考历年真题 ★ 
 ★ 高考题库 ★ 
 ★ 高考题库 ★ 

电脑版  |  手机版  |  返回顶部