时间:2020-01-30 20:29:23
1、选择题 下图是某生态农场物质循环利用的部分示意图,以下叙述错误的是
[? ]
A.图中所示生物构成一个群落
B.该农场中葡萄属于生产者
C.该农场中蘑菇属于分解者
D.该农场实现了能量的多级利用
2、选择题 如图为生态系统中碳循环过程,其中甲、乙、丙、丁构成系统的生物群落,箭头表示物质循环方向。下列相关叙述错误的是

[? ]
3、选择题 在生态系统的碳循环中,把CO2从生物群落释放到大气中的生理过程主要是
[? ]
4、连线题 生态学家对某草原生态系统进行了多年的生态考察活动,请回答考察中的有关问题:
(1)考察发现群落中的植物以及甲、乙、丙三种动物的数量变化如图所示,由图可知种群丙在a、b、c、d四个时期中种群密度最大的是期_________。
(2)群落在垂直方向上具有明显的分层现象,其意义是__________。
(3)据图当甲种群的数量增多时,乙、丙种群的数量变化分别是__________。
(4)在图中四种生物组成的食物链中,流人甲的总能量小于丙获得的总能量,主要原因是丙获得的能量除了被自身消耗以及未被利用外,还有部分能量被___________所利用。
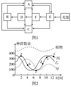
5、连线题 下图1表示生态系统中各成分之间的联系,图2为一定时间内某一生态系统中的几个种群数量变化曲线,请据图回答:
(1)图1中能构成群落的是________(填字母),图2中的乙相当于图1中的________。
(2)F的粪便被分解者分解,表示________(填字母)同化的能量被分解者利用。
(3)某地区因环境污染造成E中出现部分白化苗,对F、D数量的影响是________。
(4)根据图2中四种生物的种群数量变化关系,写出它们构成的食物链_____________。
(5)若图1是一农业生态系统,某校生物研究性学习小组对其进行考察发现;秸杆当作燃料使用,粪便、废水作为肥料直接施入农田,由此造成________(至少答2点)等不良后果。针对这一现象,该小组间有关部门建议,利用秸秆生产“再生纤维共混膜”作为地膜使用,可在一定程度上解决出现的问题。此膜可在自然条件下由图1中的________(填字母)产生的________催化降解。
答案及详细解析请点下一页查看。