高考生物题《细胞的结构》高频试题预测(2019年最新版)(六)

时间:2019-06-23 06:04:29

微信搜索关注"91考试网"公众号,领30元,获取事业编教师公务员等考试资料40G

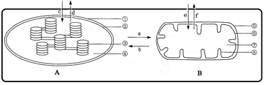
1、选择题  下图为一个叶肉细胞中两种细胞器之间以及与外界环境之间的气体交换示意图,下列有关说法正确的是

A.图中所示的细胞器A是线粒体,B是叶绿体
B.图中物质a、d、e表示的是CO2,b、c、f表示的是O2
C.在黑暗条件下,叶肉细胞只有c、d过程
D.当光照充足时,叶肉细胞可能不表现出e、f过程



2、选择题  为了增加农作物的产量,提高光合作用强度是有效的途径之一,恰当的措施为
A.提高CO2浓度
B.增强光照强度
C.延长光照时间
D.补充绿光光照



3、选择题  雨水过多时,农作物会发生烂根现象,其原因主要是
A.土壤中缺乏氧气,根进行无氧呼吸产生酒精,对根细胞有毒害作用
B.土壤中水分充足,微生物繁殖而引起烂根
C.土壤中有毒物质溶解到水中,使根遭到毒害
D.土壤因水涝温度低,使根受到低温损害



4、选择题  下图是同一细胞在不同的分裂时期的图像,据图分析可作出的判断是

A.下一细胞周期开始于图②时期的结束
B.①→④→③→②的分裂顺序共同构成了一个完整的细胞周期
C.该种生物的正常体细胞中共含有 6 个 DNA 分子
D.图①时期的细胞中二组中心粒已移向了细胞两极



5、选择题  下列哪些生理活动会导致细胞内ADP的含量增加?
①小肠绒毛上皮细胞吸收K+和Na+?②肾小管对葡萄糖的重吸收
③血液中的葡萄糖进入红细胞?④甘油进入小肠绒毛上皮细胞
A.①②③④
B.①②
C.③④
D.①②③



答案及详细解析请点下一页查看。


首页 上页 5 6 7 下页 尾页 6/10/10
微信搜索关注"91考试网"公众号,领30元,获取公务员事业编教师考试资料40G
【省市县地区导航】【考试题库导航】
 ★ 高考省级导航 ★ 
全国 A安徽 B北京 C重庆 F福建 G广东 广西 甘肃 贵州 H河南 河北 湖南 湖北 黑龙江 海南 J江苏 江西 吉林 L辽宁 N内蒙古 宁夏 Q青海 S山东 山西 陕西 四川 上海 T天津 X新疆 西藏 Y云南 Z浙江
 ★ 高考信息汇总 ★ 
 ★ 高考历年真题 ★ 
 ★ 高考历年真题 ★ 
 ★ 高考题库 ★ 
 ★ 高考题库 ★ 

电脑版  |  手机版  |  返回顶部