时间:2017-08-26 00:36:00
1、选择题 下列醇既能发生消去反应,又能被氧化为醛的是(? )
参考答案:D
本题解析:略
本题难度:简单
2、选择题 下列试剂能用来鉴别乙醇和乙酸的是( )
A.盐酸
B.蒸馏水
C.氯化钠溶液
D.紫色石蕊溶液
参考答案:D
本题解析:
本题难度:简单
3、选择题 为了证明乙醇分子中含有氧原子,现采用一套装置进行实验,试根据下列装置中的试剂及实验现象,回答有关问题:
(1)装置中所装的试剂:①A瓶装无水乙醇,内放无水盐X;
②B干燥管里装生石灰;
③C和D中都装浓H2SO4;
④E瓶装试剂Y;
(2)实验现象及操作:用水浴加热A瓶:将D中浓H2SO4缓缓滴入E中与试剂Y作用,发现C中导管有大量气泡放出;A瓶内X逐渐变色,从B中挥发出的气体可点燃。
回答下列问题:
(1)E瓶里所装的试剂Y是____________。
①饱和食盐水?②MnO2和NaCl的混合物?③浓HCl
(2)D中浓H2SO4所起的作用是_________________,C中浓H2SO4所起的作用是__________。
(3)A瓶中发生反应的化学方程式是____________________;反应类型是___________;所生成的_________(写名称)在B出口处点燃。
(4)无水盐X宜选用__________;它能起指示剂作用的原因是____________________。
(5)此实验能证明乙醇分子中含有氧原子的理由是____________________。
(6)如果将装置中的C瓶去掉能否得出最终结论?____________________。为什么?
参考答案:(1)③(2)吸收浓HCl中的水分,使HCl气体逸出;干燥HCl气体(3)CH3CH2OH+HCl
CH3CH2Cl+H2O;取代反应;氯乙烷(4)无水CuSO4;实验过程中观察到无水CuSO4变蓝,证明反应有水生成(5)无水CuSO4变蓝证明有水生成,水中含氧元素,它不可能来自HCl,只能来自乙醇(6)不能;若不除去水,无法判断使无水CuSO4变蓝的水是否来自于乙醇与HCl的反应。
本题解析:略
本题难度:一般
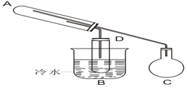
4、实验题 (13分)下图是用来进行乙醇的氧化和检验氧化产物的实验装置。可供选择的试剂有:铜粉、氧化铜粉末、乙醇、新制氢氧化铜浊液、银氨溶液,所需要其它仪器任选。
1.按照实验步骤,填写表格。
| 序号 | 实验步骤及实验操作 |
| 步骤一 | 检查装置的气密性 |
| ? 步骤二 | 装药品:A试管中装入_________;烧瓶C中装入_________;试管D中装入______. |
| 步骤三 | 对A,B,C装置进行加热,先后顺序是____________。 |
| 步骤四 | 当看到?现象时停止加热 |
参考答案:(1) 步骤二?氧化铜;乙醇;银氨溶液;
步骤三?分别在C、A、B处加热,
步骤四?当试管中D中产生银镜时停止加热
(2)微热烧瓶C,试管D中导管口有气泡,烧瓶C冷却后导管内有一段水柱上升,说明气密性良好。?(3)碎瓷片?(4)黑色CuO粉末变成红色?有银镜产生
(5)CH3CH2OH+CuO
CH3CHO+H2O+Cu
CH3CHO+2Ag(NH3)2OH
CH3COONH4+3NH3+2Ag↓+H2O
本题解析:实验目的:①乙醇的氧化,用氧化铜粉末将乙醇氧化成乙醛;②检验氧化产物乙醛,用新制氢氧化铜浊液或银氨溶液;
1、步骤二:A为略向下倾斜的试管,应盛装固体,故放氧化铜粉末,
C中盛放乙醇,在加热条件下,变成乙醇蒸汽进入A,被氧化铜粉末氧化成乙醛,
乙醛进入试管D冷凝;
步骤三:先加热C,使乙醇变成蒸汽进入A;再加热A,使乙醇与氧化铜反应;再加热B,通过反应检验氧化产物乙醛;
4、D采用的是水浴加热,说明是利用了银镜反应来检验乙醛;
本题难度:一般
5、选择题 丙烯醇(CH2=CH—CH2OH)可发生的化学反应有 ?
①加成②氧化③燃烧④加聚⑤取代?
[?]
A.?只有①②③?
B.?①②③④
C.?①②③④⑤?
D.?只有①③④
参考答案:C
本题解析:
本题难度:一般