时间:2017-08-10 01:26:41
1、选择题 检验某晶体是不是铵盐时,先将待检物取出少量放在试管中,之后(?)
A.加烧碱溶液,加热,用湿润的红色石蕊试纸在管口检验
B.直接加热,用湿润的红色石蕊试纸在管口检验
C.加烧碱溶液,加热,向试管中滴加紫色石蕊试液
D.加水溶解,滴加无色酚酞试液,观察是否变红
参考答案:A
本题解析:A项,加烧碱溶液加热,发生如下反应:
+OH-
NH3↑+H2O
NH3能使湿润的红色石蕊试纸变蓝,由此可证明某晶体是否是铵盐。B项,直接加热,分解产生的气体有NH3,同时还可能有HCl、CO2等气体,故此方法不能证明某晶体是否是铵盐。C项,加烧碱溶液加热,向试管中加石蕊试液,只能检验试管中反应后溶液的酸碱性。D项,加水溶解,再加酚酞试液,溶液变红,与
无关。
本题难度:简单
2、实验题 为探究Fe(NO3)2等硝酸盐热分解产物和产物的性质,某化学小组开展如下探究性学习:
【查阅资料】金属活泼性不同,其硝酸盐分解产物不同。
(1)K→Na活泼金属的硝酸盐分解生成亚硝酸盐和氧气;
(2)Mg→Cu等较活泼金属的硝酸盐分解生成氧化物、NO2和O2;
(3)Hg以后不活泼金属的硝酸盐分解生成金属单质、NO2和O2。
2KNO3
2KNO2↑+O2↑
2Cu(NO3)2
2CuO+4NO2↑+O2↑?
2AgNO3
2Ag+2NO2↑+O2↑
【实验一】探究Fe(NO3)2热分解固体产物中Fe元素的价态。该小组甲同学将其溶于足
量的稀H2SO4得到相应两份溶液,进行以下探究实验。
【提出猜想】猜想一:Fe元素只显+2价;
猜想二:Fe元素只显+3价;
猜想三:Fe元素____?_____。
【实验操作】①向一份溶液中滴入KSCN溶液②将稀酸性KMnO4溶液中滴入另一份溶液
【实验现象】实验①?;实验②?。
【实验结论】猜想二成立,则Fe(NO3)2分解的化学方程式是?。
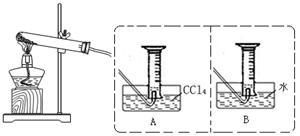
【实验二】探究Fe(NO3)2热分解气体产物的性质。小组乙、丙同学进行了如下图所示的实验(收集时操作恰当,几乎没有空气)
实验步骤:①连接仪器;②检查装置气密性;③取一定质量Fe(NO3)2装于大试管,并重
新连接好仪器;④加热;⑤……
(1)乙同学使用A装置收集气体,恰好收集到常温常压下27mL的红棕色气体,为确保数据的准确性,读数时必须?。
(2)乙同学用带火星木条检验量筒内气体时,发现木条燃烧,且颜色变浅甚至无色,下列判断中正确的是?。
a.气体中只有NO2? b.气体是O2、NO2的混合物
c.支持燃烧的气体只有O2?d.NO2支持燃烧
(3)丙同学取等质量的Fe(NO3)2使用B装置收集气体,可收集到?mL气体。
【实验三】探究固体混合物的成分。小组丁同学取KNO3、Cu(NO3)2、Fe(NO3)2的混合粉末充分加热后用排水法未收集到任何气体,则KNO3、Cu(NO3)2、Fe(NO3)2的物质的量之比可能是(?)
A.1:2:2
B.2:1:3
C.1:2:3
D.3:8:6
参考答案:
【实验一】【提出猜想】?既有+2价又有+3价(1分)
【实验现象】溶液呈血红色(2分)?稀酸性KMnO4溶液不褪色。(2分)
【实验结论】2Fe(NO3)2
Fe2O3+8NO2↑+O2↑(2分)
【实验二】(1)调节量筒,使量筒液面与水槽液面在同一高度(2分)
(2)bd (2分) (3)4?(2分)
【实验三】AD(2分,多选、错选不得分,选对1个得1分)
本题解析:(1)Fe元素有+2价、+3价,所以猜想三:Fe元素既有+2价又有+3价。(2)根据固体物质中有+3价Fe,在溶液中加入KSCN溶液,溶液应变红,向另一份溶液中滴入酸性KMnO4稀溶液,KMnO4溶液颜色无明显变化;(3)Fe(NO3)2热分解生成了氧化铁,二氧化氮和氧气,方程式:4Fe(NO3)3
?2Fe2O3+4NO2↑+11O2↑;【实验二】(1)(1)乙同学使用A装置收集气体,恰好收集到常温常压下27mL的红棕色气体,为确保数据的准确性,读数时必须调节量筒,使量筒液面与水槽液面在同一高度。(2)乙同学用带火星木条检验量筒内气体时,发现木条燃烧,且颜色变浅甚至无色,说明红棕色气体参加了反应,b.气体是O2、NO2的混合物d.NO2支持燃烧两者都有可能。(3)根据反应4Fe(NO3)2
2Fe2O3+8NO2+O2,生成27ml气体中二氧化氮占了8/9,则为24mlNO2和3mlO2。再通过水后被水吸收,3mlO2完全被水吸收需要12mlNO2,剩余12mlNO2再被水吸收生成4ml一氧化氮气体。【实验三】根据三个反应2KNO3
2KNO2↑+O2↑;2Cu(NO3)2
2CuO+4NO2↑+O2↑; 2Fe(NO3)2
Fe2O3+8NO2↑+O2↑,混合粉末充分加热后用排水法未收集到任何气体,说明三个反应中生成的气体物质的量之比NO2↑:O2↑=4:1,通过选项答案验证,AD正确。
本题难度:一般
3、选择题 将CO2,NO2,NO,SO2分别通过NaOH溶液,不能被吸收的气体
A.NO2
B.NO
C.CO2
D.SO2
参考答案:B
本题解析:略
本题难度:简单
4、选择题 下列各组气体中,相遇会产生白烟的是(?)
A.NH3和HCl
B.NH3和O2
C.SO2和H2S
D.NO和O2
参考答案:A
本题解析:生成白色固体。
本题难度:简单
5、实验题 Ⅰ、 (1)某化学兴趣小组欲从下列装置中选取必要的装置制取 (NH4)2SO4溶液,连接的顺序(用接口序号字母表示)是:a?
(2)将装置C中两种液体分离开的操作名称是__?_______。
装置D的作用是?。
Ⅱ、(4分)为提高氯化铵的经济价值,我国化学家设计了利用氢氧化镁热分解氯化铵制氨气并得到碱式氯化镁(MgOHCl)的工艺。某同学根据该原理设计的实验装置如图:
请回答下列问题:
(1) 装置A中发生反应生成碱式氯化镁的化学方程式为_________? ____
装置B中碱石灰的作用是_____?__
(2) 反应过程中持续通入N2的作用有两点:一是使反应产生的氨气完全导出并被稀硫酸充分吸收,二是_______________?______
(3) 装置C的试管中反应的离子方程式为?______________
参考答案:Ⅰ(1)d e f?(2) 分液;吸收多余的NH3防止污染空气,防止倒吸
Ⅱ (1)Mg(OH)2+NH4Cl
MgOHCl+NH3↑+H2O?干燥氨气
(2)防止装置C中的AlCl3溶液倒吸入装置B?(3)?Al3++3NH3·H2O=Al(OH)3↓+3NH4+
本题解析:Ⅰ(1)将A装置制取的氨气通入到硫酸中科的硫酸铵物质。为了防止多余的氨气污染大气,要将氨气用倒扣的漏斗通入到水中。这样既可以使氨气充分吸收,也防止了倒吸现象的发生。所以装置接口酸性是d e f。硫酸和四氯化碳是互不相溶的两种液体,可用分液法分离。(1) 装置A中发生反应生成碱式氯化镁的化学方程式为Mg(OH)2+NH4Cl
MgOHCl+NH3↑+H2O?装置B中碱石灰的作用是吸收氨气中的水蒸气即?干燥氨气。(2) 反应过程中持续通入N2的作用有两点:一是使反应产生的氨气完全导出并被稀硫酸充分吸收,二是防止装置C中的AlCl3溶液由于氨气的大量溶解造成的装置中的压强减小引起的倒吸现象。使AlCl3溶液倒吸入装置B。(3) 装置C的试管中反应的离子方程式为Al3++3NH3·H2O=Al(OH)3↓+3NH4+?。
本题难度:一般