时间:2017-08-09 08:59:08
1、选择题  一根弯成直角的导线放在B=0.4特的匀强磁场中,如图所示,导线ab=30cm,bc=40cm,当导线以5m/s的速度做切割磁感线运动时,可能产生的最大感应电动势的值为( ? )

参考答案:B
本题解析:
本题难度:简单
2、选择题  一接有电压表的矩形线圈在匀强磁场中向右作匀速运动,如图所示,下列说法正确的是(?)
A.线圈中有感应电流,有感应电动势
B.线圈中无感应电流,也无感应电动势
C.线圈中无感应电流,有感应电动势
D.线圈中无感应电流,但电压表有示数
参考答案:C
本题解析:线圈在磁场中移动时线圈中的磁通量不发生变化,所以没有感应电动势,电压表没有示数,但是由于ad和bc切割磁感线运动,所以会产生感应电动势,故选C
点评:该题中ad和bc其实相当于两个反接的电源,由于相互抵消,没有电流,但是杆的两端有电动势
本题难度:一般
3、简答题  
(1)请证明线框进入磁场的过程中任意时刻线框克服安培力做功的功率等于线框的电功率;
(2)若m=0.40kg,L=0.45m,h="0.80" m,H=1.45m,且cd边进入磁场时线框刚好做匀速运动,求cd边刚穿出磁场时线框的加速度大小;(g取10m/s2)。
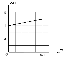
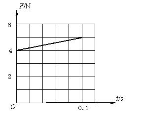
(3)在(2)中,若线框刚进入磁场时对其施加一竖直方向外力F,使其能以a=10.0m/s2的加速度竖直向下做匀加速运动,请在下图中作出线框abcd进入磁场的过程中外力F随时间t变化的图像。
参考答案:
(1)克服安培力做功的功率等于线框的电功率?(2)a=5m/s2
(3)
本题解析:(1)设磁感应强度为B,导线电阻为R,某时刻线框运动速度为v,则线框中产生的感应电动势为?E=BLv?
产生的感应电流为?
?
线框所受安培力为?
?
克服安培力做功的功率为?
?…………………………………1分 
线框中的电功率为?
?
可得
即,克服安培力做功的功率等于线框的电功率。?……1分
(2)线框进入磁场前速度为?
?  …………………………1分
进入磁场过程中匀速运动则有?
?…………………………………1分
完全进入磁场后线框以加速度g加速下落,刚离开磁场时速度为v2,根据机械能守恒有
?………………………………1分
线框刚离开磁场时,根据牛顿第二定律有?
?   1分
上述关系式联立,可解得?a=5m/s2?………………………………………………1分
(3)线框在F外力作用下加速进入过程中,经t时刻速度为v,则该时刻有
   …………………1分
根据上述方程联立,可得?
?(t≤0.1s)  …………………1分
(图线1分,正确标出纵截距和横坐标1分)
本题难度:简单
4、选择题  一个边长为L的正方形导线框在倾角为θ的光滑固定斜面上由静止开始沿斜面下滑,随后进入虚线下方方向垂直于斜面的匀强磁场中.如图所示,磁场的上边界线水平,线框的下边ab边始终水平,斜面以及下方的磁场往下方延伸到足够远。下列推理、判断正确的是(  )
A.线框进入磁场过程b点的电势比a点高
B.线框进入磁场过程一定是减速运动
C.线框中产生的焦耳热一定等于线框减少的机械能
D.线框从不同高度下滑时,进入磁场过程中通过线框导线横截面的电量一样
参考答案:CD
本题解析:
本题难度:简单
5、计算题  如图所示,有一对与电阻R=0.5Ω相连的平行导轨M和N,它们在同一水平面上,现加一匀强磁场,磁感应强度B=1T,磁场方向竖直向下,两导轨间距离L=0.05m,一质量
导体杆a、b垂直放在导轨上,ab杆和导轨电阻均不计,ab与导轨间动摩擦因数
。今以F的水平恒定拉力拉ab,使它以恒定速度
向右运动,(g=10m/s2)
求:(1)在图中标出通过电阻R中的电流方向;
(2)流过电阻R的电流大小;
(3)水平的恒定拉力F的大小和方向。
参考答案:(1)通过电阻R中的电流方向由d到c,如下图所示?
(2) 0.4A?(3)0.03N?方向向右
本题解析:(1)由楞次定律可得,导体杆向右运动时通过电阻R的电流方向为由d到c,如下图所示
(2)由导体切割磁感线产生感应电动势可得
由欧姆定律知
联立两式可得
(3)导体杆向右匀速运动,受摩擦力
,方向向左
由左手定则可知导体杆受安培力
,方向向左
由平衡条件可得水平恒定拉力为
解得F=0.03N,方向向右
点评:关键掌握闭合电路欧姆定律以及切割产生的感应电动势,切割磁感线的导体相当于电源,由楞次定律(或右手定则)判断感应电流方向,由平衡条件列方程求拉力。
本题难度:一般