-->

1、选择题  下列说法中,正确的是(  )
A.施力物体对受力物体施加了力,施力物体自身可不受力的作用
B.若一物体是施力物体,则该物体一定同时也是受力物体
C.力的产生离不开受力物体,但可以没有施力物体
D.只有直接接触的物体间才有力的作用



">

高考物理题《力的合成与分解》试题特训(2017年最新版)

时间:2017-08-09 08:50:20

微信搜索关注"91考试网"公众号,领30元,获取事业编教师公务员等考试资料40G

1、选择题  下列说法中,正确的是(  )
A.施力物体对受力物体施加了力,施力物体自身可不受力的作用
B.若一物体是施力物体,则该物体一定同时也是受力物体
C.力的产生离不开受力物体,但可以没有施力物体
D.只有直接接触的物体间才有力的作用



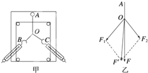
2、选择题  在“验证力的平行四边形定则”的实验中,某同学的实验情况如图甲所示,其中A为固定橡皮条的图钉,O为橡皮条与细绳的结点,OB和OC为细绳.图乙是在白纸上根据实验结果画出的力的图示,下列说法中正确的是 (  )
600)makesmallpic(this,600,1800);\' alt=\"91考试网\" src=\"http://www_php168_com/91files/2016060322/mk4d5ia0wvp.png\">

A.图乙中的F是力F1和F2合力的理论值,F′是力F1和F2合力的实际测量值
B.图乙的F′是力F1和F2合力的理论值,F是力F1和F2合力的实际测量值
C.在实验中,如果将细绳也换成橡皮条,那么对实验结果没有影响
D.在实验中,如果将细绳也换成橡皮条,那么对实验结果没有影响



3、选择题  下列四组单位中,哪一组中的各单位都是国际单位制中的基本单位(? )
A.m、N、s
B.m、kg、s
C.kg、J、s
D.m、kg、N



4、选择题  下列关于物理学史实的说法正确的是(?)
A.伽利略用理想斜面实验推翻了亚里士多德关于“力是维持物体运动原因”的观点
B.牛顿发现了万有引力定律,并用实验测定了万有引力恒量
C.库仑最早建立电场概念并用电场线描述电场
D.法拉第最早发现了电流的磁效应现象



5、选择题  下列物理单位中,属于力学基本单位的是(  )
A.N
B.kg
C.J
D.m/s




微信搜索关注"91考试网"公众号,领30元,获取公务员事业编教师考试资料40G
【省市县地区导航】【考试题库导航】
 ★ 高考省级导航 ★ 
全国 A安徽 B北京 C重庆 F福建 G广东 广西 甘肃 贵州 H河南 河北 湖南 湖北 黑龙江 海南 J江苏 江西 吉林 L辽宁 N内蒙古 宁夏 Q青海 S山东 山西 陕西 四川 上海 T天津 X新疆 西藏 Y云南 Z浙江
 ★ 高考信息汇总 ★ 
 ★ 高考历年真题 ★ 
 ★ 高考历年真题 ★ 
 ★ 高考题库 ★ 
 ★ 高考题库 ★ 

电脑版  |  手机版  |  返回顶部