高考物理答题模板《力的合成与分解》高频试题预测(2017年最新版)(二)

时间:2017-08-07 15:59:03

微信搜索关注"91考试网"公众号,领30元,获取事业编教师公务员等考试资料40G

1、实验题  

在互成角度的两个共点力的合成实验中,其中的三个实验步骤如下:
(1)在水平放置的木板上垫一张白纸,把橡皮条的一端固定在木板上,另一端拴两根细线,通过细线同时用两个弹簧测力计互成角度地拉橡皮条,使它与细线的结点达到某一位置O点,在白纸上记下O点的位置和两弹簧测力计的读数F1和F2;
(2)在纸上根据F1和F2的大小,应用平行四边形定则作图求出合力F;
(3)只用一只弹簧测力计通过细绳拉橡皮条,使它的伸长量与用两只弹簧测力计同时拉时相同,记下此时弹簧测力计的读数F"及其方向。
以上三个步骤中均有错误或疏漏:
(1)中是________________________________;
(2)中是________________________________;
(3)中是________________________________。




参考答案:(1)未记录细线的方向
(2)应根据F1和F2的大小和方向
(3)应把结点O拉至同一位置


本题解析:


本题难度:一般



2、实验题  如图所示的实验装置可以探究加速度与物体质量、物体受力的关系。小车上固定一个盒子,盒子内盛有沙子。沙桶的总质量(包括桶以及桶内沙子质量)记为m,小车的总质量(包括车、盒子及盒内沙子质量)记为M。

(1)验证在质量不变的情况下,加速度与合外力成正比:从盒子中取出一些沙子,装入沙桶中,称量并记录沙桶的总重力mg,将该力视为合外力F,对应的加速度a则从打下的纸带中计算得出。多次改变合外力F的大小,每次都会得到一个相应的加速度。本次实验中,桶内的沙子取自小车中,故系统的总质量不变。以合外力F为横轴,以加速度a为纵轴,画出a-F图象,图象是一条过原点的直线。
①a-F图象斜率的物理意义是________________________________________。
②你认为把沙桶的总重力mg当作合外力F是否合理?答:________ (填“合理”或“不合理”)。
③本次实验中,是否应该满足这样的条件?答:________(填“是”或“否”);
理由是_____________________________________________________________。
(2)验证在合外力不变的情况下,加速度与质量成反比:保持桶内沙子质量m不变,在盒子内添加或去掉一些沙子,验证加速度与质量的关系。本次实验中,桶内的沙子总质量不变,故系统所受的合外力不变。用图象法处理数据时,以加速度a为纵轴,应该以______倒数为横轴。


参考答案:(1)①;②合理;③否;因为实验的研究对象是整个系统,系统受到的合外力就等于mg
(2)M+m


本题解析:


本题难度:一般



3、选择题  下列诃语所隐含的物理现象,可用牛顿理论中力的概念和规律来解释的是
①滴水石穿②铁杵成针③水中望月 ④逆风扬帆⑤光阴飞逝

[? ]


A.①②③
B.③④⑤
C.①②④
D.①③⑤


参考答案:C


本题解析:


本题难度:简单



4、选择题  在国际单位制中下列哪个物理量单位的符号是Wb (?)
A.电容? B.磁通量? C.电阻? D.磁感应强度


参考答案:B


本题解析:略


本题难度:简单



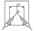
5、填空题  有同学利用如图的装置来验证力的平行四边形定则:在竖直木板上铺有白纸,固定两个光滑的滑轮A和B,将绳子打一个结点O,每个钩码的重相等,当系统达到平衡时,根据钩码个数读出三根绳子的拉力TOA、TOB和TOC,回答下列问题:
(1)改变勾码个数,实验不能完成的是______
A.勾码的个数N1=N2=2,N3=4
B.勾码的个数N1=N2=3,N3=4
C.勾码的个数N1=N2=N3=4
D.勾码的个数N1=3,N2=4,N3=5
(2)在拆下钩码和绳子前,最重要的一个步骤是______
A.标记结点O的位置,并记录OA、OB、OC三段绳子的方向.
B.量出OA、OB、OC三段绳子的长度
91考试网
C.用量角器量出三根绳子之间的夹角
D.用天平测出钩码的质量
(3)在作图时,下图中更加符合实际的图是______图.(填“甲”或“乙”)91考试网


参考答案:(1)对O点受力分析

91考试网

OA? OB? OC分别表示三个力的大小,由于三共点力处于平衡,所以0C等于OD.因此三个力的大小构成一个三角形.
A、以钩码的个数表示力的大小,则不能构成三角形,故A正确;
B、以钩码的个数表示力的大小,则三力为边构成等腰三角形,故B错误;
C、以钩码的个数表示力的大小,则三力为边构成等边三角形,故C错误;
D、以钩码的个数表示力的大小,则三力为边构成直角三角形,故D错误.
故选A.
(2)为验证平行四边形定则,必须作受力图,所以先明确受力点,即标记结点O的位置,其次要作出力的方向并读出力的大小,最后作出力的图示,因此要做好记录,是从力的三要素角度出发,要记录砝码的个数和记录OA、OB、OC三段绳子的方向,故A正确,BCD错误.
故选A.
(3)以O点为研究对象,F3的是实际作用效果在OC这条线上,由于误差的存在,F1、F2的理论值要与实际值有一定偏差,故甲图符合实际,乙图不符合实际.
故答案为:甲.


本题解析:


本题难度:一般




首页 上页 1 2 3 下页 尾页 2/10/10
微信搜索关注"91考试网"公众号,领30元,获取公务员事业编教师考试资料40G
【省市县地区导航】【考试题库导航】
 ★ 高考省级导航 ★ 
全国 A安徽 B北京 C重庆 F福建 G广东 广西 甘肃 贵州 H河南 河北 湖南 湖北 黑龙江 海南 J江苏 江西 吉林 L辽宁 N内蒙古 宁夏 Q青海 S山东 山西 陕西 四川 上海 T天津 X新疆 西藏 Y云南 Z浙江
 ★ 高考信息汇总 ★ 
 ★ 高考历年真题 ★ 
 ★ 高考历年真题 ★ 
 ★ 高考题库 ★ 
 ★ 高考题库 ★ 

电脑版  |  手机版  |  返回顶部