时间:2017-08-07 15:27:51
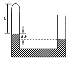
1、计算题 如图所示,粗细均匀的U形管竖直放置,左端封闭,右端开口,左端用水银封闭着长L=10cm的理想气体,当温度为27°C时,两管水银面的高度差Δh=2cm.设外界大气压为1.0?105Pa(即75cmHg).为了使左、右两管中的水银面相平,求:
小题1:若对封闭气体缓慢加热,温度需升高到多少°C?
小题2:若温度保持27°C不变,需从右管的开口端再缓慢注入多少高度的水银柱?
参考答案:
小题1:66℃
小题2:2.54cm
本题解析:(1)根据理想气体状态方程:
? (2分)
代入数据
,从中求得T2=339K ,t2=66℃?(3分)
(2)根据玻意耳定律:P1V1 = P3V3? (2分)
代入数据73×10 = 75×L3,从中求得L3= 9.73 cm ,即闭管水银柱上升了0.27cm,
所需注入的水银柱长为H = (2+2×0.27)cm = 2.54cm? (3分)
本题难度:一般
2、选择题 诗句“满眼波光多闪烁,看山恰似走来迎,仔细看山山不动,是船行”中,“看山恰似走来迎”和“是船行”所选的参考系分别是
A.地面和山
B.山和船
C.船和山
D.河岸和流水
参考答案:C
本题解析:看山恰似走来迎,是诗人以船为参照物,是船行是诗人以河岸或山为参照物,所以C对。
本题难度:一般
3、简答题 热力学第二定律的开尔文表述指出:内能与机械能的转化具有方向性,请结合熵的变化加以解释.
参考答案:解:机械运动是宏观情况下物体在空间位置上的变化,物体运动状态的变化完全遵循牛顿运动定律所反映的因果关系,这是一种有序的运动.热运动是大量分子的无规则运动,系统的一个宏观状态包含着大量的微观状态,这是一种无序的运动,机械运动向热运动的转化,属于从有序向无序的转化,会导致熵的增加,符合热力学的规律,因此机械能可以全部转化为内能,反之,热运动向机械运动的转化,属于从无序向有序的转化,即从高熵向低熵转化,不符合熵增加原理,因此内能不可能全部转化为机械能而不引起其他变化.
本题解析:
本题难度:一般
4、实验题 (1)以下几个叙述正确的是? ( ).
A.饱和汽的压强与温度无关
B.多晶体的物理性质表现为各向异性
C.肥皂泡呈球状是由于液体表面张力的作用
D.当人们感觉空气干燥时,空气的相对湿度一定较小
(2)如图所示,两端开口的U形玻璃管两边粗细不同,粗管B的横截面积是细管A的2倍.管中装入水银,两管中水银面与管口距离均为12 cm,大气压强为p0=75 cmHg.
①若用一活塞将细管A的管口封闭,并缓慢向下推活塞,保持封闭气体温度不变,当两管中水银面高度差为6 cm时,活塞下移的距离为多少?
②若将两管口均封闭,使细管A内封闭气体的温度从t=27 ℃开始缓慢升高,粗管B内气体温度不变,当两管中水银面高度差为6 cm时,A管内封闭气体的温度为多少?
参考答案:(1)CD (2)①4.89 cm ②239 ℃
本题解析:(1)饱和汽的压强与温度有关,温度越高,饱和汽的压强越大,选项A错误;多晶体的物理性质表现为各向同性,选项B错误;肥皂泡呈球状是由于液体表面张力的作用,选项C正确;当人们感觉空气干燥时,空气的相对湿度较小,选项D正确.
(2)①选取封闭气体为研究对象,初状态:p1=p0=75 cmHg,l1=12 cm
末状态:p2=p0+ph=81 cmHg
由p1V1=p2V2得p1l1=p2l2,可得l2=
=
cm=11.11 cm两边液面高度差为6 cm时,细管液面下降4 cm,粗管液面上升2 cm,所以活塞下移距离为:(12+4-11.11)cm=4.89 cm.
②选取粗管B内封闭气体为研究对象,pB1=p0=75 cmHg,lB1=12 cm,lB2=(12-2)cm=10 cm
由pB1VB1=pB2VB2得pB1lB1=pB2lB2,可得
pB2=
=
cmHg=90 cmH g
再选取细管A内封闭气体为研究对象,pA1=p0=75 cmHg,lA1=12 cm,TA1=(273+27) K=300 K
pA3=pB2+ph′=96 cmHg,lA3=(12+4) cm=16 cm
由气体状态方程得
=
代入数据解得TA3=512 K,所以A管内气体的温度TA3=(512-273)℃=239 ℃.
本题难度:一般
5、选择题 关于热现象的描述,下列说法正确的是
[? ]
A.温度升高,物体内所有分子的动能都增大
B.温度降低,物体内每个分子的热运动速率都减小
C.质量和温度均相同的水和冰,内能相同
D.自然界中涉及热现象的宏观过程都具有方向性
参考答案:D
本题解析:
本题难度:简单