时间:2017-08-05 17:46:32
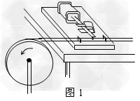
1、实验题 一个有一定厚度的圆盘,可以绕通过中心垂直于盘面的水平轴转动。用下面的方法测量它匀速转动的角速度。实验器材:电磁打点计时器,米尺,纸带,复写纸片。实验步骤:
①如图1所示,将电磁打点计时器固定在桌面上,将纸带的一端穿过打点计时器的限位孔后,固定在待测圆盘的侧面上,使得圆盘转动时,纸带可以卷在圆盘侧面上;
②启动控制装置使圆盘转动,同时接通电源,打点计时器开始打点;
③经过一段时间,停止转动和打点,取下纸带,进行测量。如图2所示,该同学在纸带上打的点上方标上了字母a、b、c、d…。
(1)由已知量和测得量表示的角速度的表达式ω=____________,式中各量的意义是:____________;
(2)某次实验测得圆盘半径r =5.50×10-2 m,得到的纸带的一段如图2所示。求得角速度为____________。(保留两位有效数字)

参考答案:(1)
;T为电磁打点计时器打点的时间间隔,r为圆盘的半径,x0是纸带上选定的点分别对应的米尺上的坐标值,14为选定的ao两点间的打点数
(2)6.8rad /s或6.7rad/s
本题解析:
本题难度:一般
2、选择题 关于匀速圆周运动的物体的线速度、角速度、周期的关系,下面说法中正确的是(?)
A.角速度大的周期一定小
B.线速度大的角速度一定大
C.线速度大的周期一定小
D.角速度大的半径一定小
参考答案:A
本题解析:由角速度公式
可知角速度大的周期一定小,选项A正确;线速度与角速度和半径都有关系,选项B错误;由周期公式
可知线速度大的周期不一定小,选项C错误;同理选项D错误;故选A
点评:本题难度较小,熟悉并理解圆周运动中各物理量的关系
本题难度:简单
3、选择题 正常走动的钟表,其时针、分针、秒针都做匀速转动.下列关系中正确的有( )
A.秒针角速度是时针角速度的720倍
B.分针角速度是时针角速度的12倍
C.秒针角速度是分针角速度的60倍
D.分针的周期是时针周期的12倍
参考答案:时针运动的周期为12h,故时针上的A点做圆周运动的周期为T1=12h;
而分针运动一周需要1h,故分针上的B点做圆周运动的周期为T2=1h;
秒针绕圆心运动一周需要60s,故秒针上的C点做圆周运动的周期为T3=60s=160h;
A、根据公式ω=2πT,角速度ω∝1T,故秒针角速度是时针角速度的720倍,故A正确;
B、根据公式ω=2πT,角速度ω∝1T,故分针角速度是时针角速度的12倍,故B正确;
C、根据公式ω=2πT,角速度ω∝1T,故秒针角速度是分针角速度的60倍,故C正确;
D、时针的周期是分针周期的12倍,故D错误;
故选ABC.
本题解析:
本题难度:简单
4、选择题 如图所示为一皮带传动装置,右轮的半径为r,a是它边缘上的一点;左侧是一轮轴,大轮的半径是4r,小轮的半径为2r.b点在小轮上,到小轮中心的距离为r.c点和d点分别位于小轮和大轮的边缘上.传动过程中皮带不打滑.则下列说法中正确的是( )
A.a点与b点的线速度大小相等
B.a点与b点的角速度大小相等
C.a点与c点的线速度大小相等
D.a点与d点的向心加速度大小不相等
参考答案:A.a、c两点是传送带传动的两轮子边缘上两点,则va=vc,b、c两点为共轴的轮子上两点,ωb=ωc,rc=2rb,则vc=2vb,所以va=2vb,故A错.
? B..a、c两点是传送带传动的两轮子边缘上两点,则va=vc,b、c两点为共轴的轮子上两点,ωb=ωc,rc=2ra,则ωc=12ωa,所以ωb=12ωa,故B错.
? C.a、c两点是传送带传动的两轮子边缘上两点,则va=vc,故C对.
? D.ωb=12ωa,ωb=ωd,则ωd=12ωa,根据公式a=rω2知,rd=4ra,所以aa=ad.故D错.
故选:C
本题解析:
本题难度:简单
5、选择题 一个电子钟的秒针角速度为( )
A.πrad/s
B.2πrad/s
C.
| π 30 |
| π 60 |
参考答案:秒针的周期T=60s,转过的角度为2π,则角速度ω=△θ△t=2πT=2π60rad/s=π30rad/s,故ABD错误,C正确.
故选:C.
本题解析:
本题难度:简单