时间:2017-08-05 17:39:11
1、选择题 物体以v0=10m/s的速度水平抛出,经2s落地,则物体抛出点距地的高度是( )
A.5m
B.10m
C.15m
D.20m
参考答案:根据h=12gt2得:h=12×10×4m=20m.故D正确,A、B、C错误.
故选:D.
本题解析:
本题难度:一般
2、选择题 做平抛运动的物体,在水平方向通过的最大距离取决于(?)
A.物体的高度和重力
B.物体的重力加速度
C.物体的高度和初速度
D.物体的重力、高度和初速度
参考答案:C
本题解析:对于做平抛运动的物体,
水平方向上:
?
竖直方向上:
?
所以水平位移为
所以水平方向通过的最大距离取决于物体的高度和初速度,
故选C.
点评:平抛运动可以分解为在水平方向上的匀速直线运动,和竖直方向上的自由落体运动,
本题难度:简单
3、选择题 在军事演习中,飞行员进行轰炸演练,对投下的炮弹,下列说法正确的是 ( )
A.飞机上的观察者看到炮弹的轨迹是曲线
B.地面上的观察者看到炮弹的轨迹是曲线
C.地面上的观察者看到炮弹的轨迹是直线
D.以上说法均不对
参考答案:B
本题解析:
由于炮弹和和飞机在水平方向有相同的速度,所以在飞机上的观察者看到炮弹是垂直下落的,而地上的观察者看到炮弹既下落,又有水平方向的速度,所以看到的是曲线。
本题难度:一般
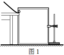
4、填空题 图1是“研究平抛物体运动”的实验装置,通过描点画出平抛小球的运动轨迹。
(1)以下实验过程的一些做法,其中合理的有________.
a.安装斜槽轨道,使其末端保持水平
b.每次小球释放的初始位置可以任意选择
c.每次小球应从同一高度由静止释放
d.为描出小球的运动轨迹描绘的点可以用折线连接
(2)实验得到平抛小球的运动轨迹,在轨迹上取一些点,以平抛起点O为坐标原点,测量它们的水平坐标x和竖直坐标y,图2中y-x图象能说明平抛小球的运动轨迹为抛物线的是_________.
(3)图3是某同学根据实验画出的平抛小球的运动轨迹,O为平抛起点,在轨迹上任取三点A、B、C,测得A、B两点水平距离Δx为40.0cm,则平抛小球的初速度v0为______m/s,若C点的竖直坐标y3为60.0cm,则小球在C点的速度为vC=______m/s(结果保留两位有效数字,g取10m/s2)。
参考答案:(1)a、c;(2)c(3)2.0;4.0
本题解析:(1)斜槽末端水平,才能保证小球离开斜槽末端时速度为水平方向,故a对;为保证小球多次运动是同一条轨迹,每次小球的释放点都应该相同,b错c对;小球的运动轨迹是平滑曲线,故连线时不能用折线,d错。
(2)平抛运动的水平位移与竖直位移分别满足的关系是:

联立可得
可知
图象是直线时,说明小球运动轨迹是抛物线。
(3)由竖直方向的分运动可知,
,
,即
,
水平初速度为
C点的竖直分速度为
由运动合成可知
本题难度:一般
5、选择题 甲、乙两球位于同一竖直直线上的不同位置,甲比乙高h,将甲、乙两球分别以大小为v1和v2的初速度沿同一水平方向抛出,不计空气阻力,下列条件中有可能使乙球击中甲球的是( )
A.同时抛出,且v1<v2
B.甲迟抛出,且v1<v2
C.甲早抛出,且v1>v2
D.甲早抛出,且v1<v2
参考答案:由题意可知甲的抛出点高于乙的抛出点,则相遇时,甲的竖直位移大于乙的竖直位移,故甲应先抛出;
而两物体的水平位移相同,而运动时间甲的要长,故甲的速度要小于乙的速度,v1<v2;故D正确,A、B、C错误.
故选D.
本题解析:
本题难度:简单