时间:2017-08-05 17:25:03
1、选择题 物理关系式不仅反映了物理量之间的关系,也确定了单位间的关系.如关系式U=IR既反映了电压、电流和电阻之间的关系,也确定了V(伏)与A(安)和Ω(欧)的乘积等效.现有物理量单位:m(米)、s(秒)、N(牛)、J(焦)、W(瓦)、C(库)、F(法)、A(安)、Ω(欧)和T(特),由它们组合成的单位都与电压单位V(伏)等效的是( )
A.J/C和N/C
B.C/F和T?m2/s
C.W/A和C?T?m/s
D.W
| 1 2 |
| 1 2 |
2、实验题 某同学利用下述装置对轻质弹簧的弹性势能进行探究,一轻质弹簧放置在光滑水平桌面上,弹簧左端固定,右端与一小球接触而不固连:弹簧处于原长时,小球恰好在桌面边缘,如图(a)所示。向左推小球,使弹黄压缩一段距离后由静止释放:小球离开桌面后落到水平地面。通过测量和计算,可求得弹簧被压缩后的弹性势能。

回答下列问题:
(1)本实验中可认为,弹簧被压缩后的弹性势能Ep与小球抛出时的动能Ek相等。已知重力加速度大小为g。为求得Ek,至少需要测量下列物理量中的_________? (填正确答案标号)。
A.小球的质量m
B.小球抛出点到落地点的水平距离s
C.桌面到地面的高度h
D.弹簧的压缩量△x
E.弹簧原长L0
(2)用所选取的测量量和已知量表示Ek,得Ek= _________________。
(3)图(b)中的直线是实验测量得到的s-△x图线。从理论上可推出,如果h不变.m增加,s—△x图线的斜率会_______(填“增大”、“减小”或“不变”);如果m不变,h增加,s—△x图线的斜率会_________ (填“增大”、“减小”或“不变”)。由图(b) 中给出的直线关系和Ek的表达式可知,Ep与△x的___________ 次方成正比。
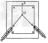
3、实验题 如图所示在“力的平行四边形定则”的实验探究中,某同学进行实验的主要步骤是:将橡皮条的一端固定在木板上的A点,另一端拴上两根带有绳套的细绳,每根绳套分别边着一个弹簧测力计。沿着两个方向拉弹簧测力计,将橡皮条的活动端拉到某一位置,将此位置标记为O点,读取此时弹簧测力计的示数,分别记录两个拉力F1、F2的大小并标出方向;再用一个弹簧测力计将橡皮条的活动端仍拉至O点,记录其拉力F的大小和方向。
(1)用一个弹簧测力计将橡皮条的活动端仍拉O点,这样做的目的是____________________________________;
(2)为尽可能减小实验误差,下列操作中正确的是___________。
A.弹簧秤、细绳、橡皮条都应与木板平行
B.两细绳必须等长
C.标记同一细绳方向的两点要远些
D.用两弹簧秤同时拉细绳时夹角应尽可能大
4、选择题 图为某同学做《验证力的合成的平行四边形法则》实验时所做的一个实验:保持O点的位置和a弹簧秤的拉伸方向不变,使b弹簧秤从图示位置开始缓慢向顺时针方向转动,则在整个过程中,关于a、b两弹簧秤示数的变化情况是( )
A.a示数增大,b示数减小
B.a示数减小,b示数增大
C.a示数减小,b示数先增大后减小
D.a示数减小,b示数先减小后增大
5、填空题 如图为“探究求合力的方法”的实验装置.PO为橡皮条,两测力计通过绳子拉橡皮条一端,使橡皮条水平.拉力的大小可从测力计中读取.对本实验:
(1)下列说法中正确的是______
A.在测量同一组数据F1、F2和合力F的过程中,橡皮条结点O的位置不能变化
B.弹簧测力计拉细线时,拉力方向必须竖直向下
C.F1、F2和合力F的大小都不能超过弹簧测力计的量程
D.为减小测量误差,F1、F2方向间夹角应为90°
(2)在此实验中,假如F1的大小及方向固定不变,那么为了使橡皮条仍然伸长到O点,对F2来说,下面几种说法中正确的是______.
A.F2可以有多个不同的方向
B.F2的方向和大小可以有多个值
C.F2的方向和大小是唯一确定的
D.F2的方向是唯一的,但大小可以有多个值.