时间:2017-07-27 11:52:20
1、选择题 如图所示,平行金属导轨宽度为L=0.6m,与水平面间的倾角为θ=37o,导轨电阻不计,底端接有阻值为R=3Ω的定值电阻,磁感应强度为B=1T的匀强磁场垂直向上穿过导轨平面。有一质量为m=0.2kg,长也为L的导体棒始终与导轨垂直且接触良好,导体棒的电阻为R0=1Ω,它与导轨之间的动摩擦因数为μ=0.3。现让导体棒从导轨底部以平行斜面的速度v0=10m/s向上滑行,上滑的最大距离为s=4m。 (sin37o=0.6,cos37o=0.8,g=10m/s2),以下说法正确的是(?)
A.把运动导体棒视为电源,最大输出功率6.75W
B.导体棒最后可以下滑到导轨底部,克服摩擦力做的总功为10.0J
C.当导体棒向上滑d=2m时,速度为7.07m/s
D.导体棒上滑的整个过程中,在定值电阻R上产生的焦耳热为2.46J
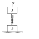
2、计算题 (12分)一劲度系数k=800 N/m的轻质弹簧两端分别连接着质量均为12 kg的物体A、B,将它们竖直静止放在水平面上,如图14所示.现将一竖直向上的变力F作用在A上,使A开始向上做匀加速运动,经0.40 s物体B刚要离开地面.g=10.0 m/s2,试求:
(1)物体B刚要离开地面时,A物体的速度vA;?
(2)物体A重力势能的改变量;
(3)弹簧的弹性势能公式:Ep=
kx2,x为弹簧的形变量,则此过程中拉力F做的功为多少?
3、选择题 如图所示,小球从距水平地面高为H的A点自由下落,到达地面上B点后又陷入泥土中h深处,到达C点停止运动。若空气阻力可忽略不计,则对于这一过程,下列说法中正确的是 
[? ]
A.小球从A到B的过程中动能的增量,大于小球从B到C过程中克服阻力所做的功
B.小球从B到C的过程中克服阻力所做的功,等于小球从A到B过程中重力所做的功
C.小球从B到C的过程中克服阻力所做的功,等于小球从A到B过程与从B到C过程中小球减少的重力势能之和
D.小球从B到C的过程中损失的机械能,等于小球从A到B过程中小球所增加的动能
4、选择题 如图所示,一块长木板B放在光滑的水平面上,再在B上放一物体A,现以恒定的外力拉B,A、B发生相对滑动,向前移动了一段距离。在此过程中
[? ]
A、B对A的摩擦力所做的功等于A的动能增加量
B、A对B的摩擦力所做的功等于B对A的摩擦力所做的功
C、外力F做的功等于A和B动能的增加量
D、外力F对B做的功等于B的动能的增加量与B克服摩擦力所做的功之和
5、选择题 在奥运比赛项目中,高台跳水是我国运动员的强项。质量为m的跳水运动员进入水中后受到水的阻力而做减速运动,设水对他的阻力大小恒为F,那么在他减速下降高度为h的过程中,下列说法正确的是(g为当地的重力加速度)
[? ]