时间:2017-03-05 17:48:23
1、选择题 下列说法中正确的是
A.牛顿通过理想斜面实验,提出了三大运动定律
B.托马斯.杨通过光的单缝衍射实验,证明了光是一种波
C.贝克勒尔发现天然放射性现象,说明原子核是有内部结构的
D.查德威克通过人工核转变,发现了原子核内存在质子
2、选择题 下列单位中,相当于磁感强度B的单位“特斯拉”的是( )
A.韦?米2
B.
| 韦 米2 |
| 牛?秒 米?库 |
| 牛 安?米 |
3、选择题 物理学是建立在实验基础上的一门学科,很多定律是可以通过实验进行验证的.下列定律中不能通过实验直接得以验证的是
A.牛顿第一定律
B.楞次定律
C.电阻定律
D.库仑定律
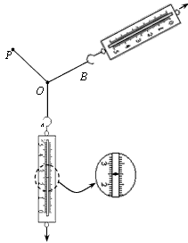
4、实验题 在“探究求合力的方法”实验中,橡皮条的一端固定于P点,如图。
(1)用A、B两弹簧测力计将橡皮条的另一端拉至O点,记录两分力的___________和___________,此时弹簧测力计A的示数为___________N(只须读到0.1N)。接下来,为了测出这两分力的合力,用一只弹簧测力计沿PO方向拉伸橡皮条,使橡皮条的长度___________PO(选填“大于”“等于”或“小于”),记录下该力的大小和方向。
(2)图为另一同学根据自己的实验数据画出的两个分力F1、F2的图示,请在图中作出这两个分力的合力F合(保留作图痕迹),并在图中空格处填写F合的大小。 
5、选择题 不定项选择
下列有关力的说法中正确的是( ? )
A.力是物体对物体的作用,所以只有直接接触的物体间才有力的作用?
B.因为有一定距离的磁铁间有相互作用力,所以力可以离开物体而独立存在
C.力不能脱离物体而单独存在
D.力的大小可以用天平测量