-->

1、计算题  MN为一金属导线,长L=0.5 m,质量m=0.1 kg,用细线悬在B=0.4 T的匀强磁场中,如图所示,若悬线的拉力为零,试求金属导线中电流的方向与大小.(g=10 m/s2 ">

高考物理知识大全《通电导线在磁场中受到的力》试题巩固(2017年最新版)

时间:2017-03-01 00:39:31

微信搜索关注"91考试网"公众号,领30元,获取事业编教师公务员等考试资料40G

1、计算题  MN为一金属导线,长L=0.5 m,质量m=0.1 kg,用细线悬在B=0.4 T的匀强磁场中,如图所示,若悬线的拉力为零,试求金属导线中电流的方向与大小.(g=10 m/s2)
600)makesmallpic(this,600,1800);\' src=\"http://www_php168_com/91files/2016060413/n0kwuwibmh5.png\" style=\"vertical-align:middle;\">



2、填空题  三个质量相同,带相同正电荷的小球,从同一高度开始下落。其中甲直接落地,乙在下落过程中经过一个水平方向的匀强电场区,丙经过一个水平方向的匀强磁场区。如图所示,不计空气阻力,则落到同一水平地面上时,_________球的速度最大,_________球最后到达地面。
600)makesmallpic(this,600,1800);\' src=\"http://www_php168_com/91files/2016060315/33mpido3hot.jpg\" style=\"vertical-align:middle;\">



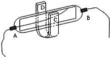
3、填空题  在用阴极射线管研究磁场对运动电荷作用的实验中,将阴极射线管的A、B两极连在高压直流电源的正负两极上.从A极发射出电子,当将一蹄形磁铁放置于阴极射线管两侧,显示出电子束的径迹如图所示,则阴极射线管的A极应接在电源的______极上(选填“正”或“负”);蹄形磁铁的C端为______极(选填“N”或“S”)600)makesmallpic(this,600,1800);\' alt=\"91考试网\" src=\"http://www_php168_com/91files/2016060413/j4vzf0ph2jz.png\">



4、选择题  如图所示为一种自动跳闸的闸刀开关,O是转动轴,A是绝缘手柄,C是闸刀卡口,M,N接电源线,闸刀处于垂直纸面向里、B=1T的匀强磁场中,CO间距离为10cm,当磁场力为0.2N时,闸刀开关会自动跳开.则要使闸刀开关能跳开,CO中通过的电流的大小和方向为(  )
A.电流方向C→O电流大小为1A
B.电流方向C→O电流大小为2A
C.电流方向O→C电流大小为1A
D.电流方向O→C.电流大小为2A
600)makesmallpic(this,600,1800);\' alt=\"91考试网\" src=\"http://www_php168_com/91files/2016060413/jynqsfzt2wx.png\">



5、计算题  如图所示,在感应强度是4.0×10-2T的匀强磁场中,有一条与磁场方向垂直、长度为2m的通电直导线ab,所受的安培力是8.0×10-2N,方向垂直纸面向外。问:
(1)导线ab中的电流方向如何?
(2)电流大小是多少?
600)makesmallpic(this,600,1800);\' style=\"VERTICAL-ALIGN: middle\" src=\"http://www_php168_com/91files/2016060413/5mla50ipfeh.gif\">




微信搜索关注"91考试网"公众号,领30元,获取公务员事业编教师考试资料40G
【省市县地区导航】【考试题库导航】
 ★ 高考省级导航 ★ 
全国 A安徽 B北京 C重庆 F福建 G广东 广西 甘肃 贵州 H河南 河北 湖南 湖北 黑龙江 海南 J江苏 江西 吉林 L辽宁 N内蒙古 宁夏 Q青海 S山东 山西 陕西 四川 上海 T天津 X新疆 西藏 Y云南 Z浙江
 ★ 高考信息汇总 ★ 
 ★ 高考历年真题 ★ 
 ★ 高考历年真题 ★ 
 ★ 高考题库 ★ 
 ★ 高考题库 ★ 

电脑版  |  手机版  |  返回顶部