高中物理知识点大全《弹力》考点预测(2017年强化版)(十)

时间:2017-02-28 23:39:09

微信搜索关注"91考试网"公众号,领30元,获取事业编教师公务员等考试资料40G

1、实验题  在《验证机械能守恒定律》的实验中,有下列A至F六个步骤:
A.将打点计时器竖直固定在铁架台上
B.接通电源,再松开纸带,让重锤自由下落
C.取下纸带,更换纸带(或将纸带翻个面),重新做实验
D.将重锤固定在纸带的一端,让纸带穿过打点计时器,用手提纸带
E.选择一条纸带,用刻度尺测出重锤下落的高度h1、h2、h3、…… hn ,计算出对应的即时速度vn
F.分别算出,比较在实验误差范围内是否相等.
①以上实验步骤按合理的操作步骤排列应该是?
②某同学在进行实验时,获得了数条纸带,则正确的是(? )
A.挑选第一、二两点间的距离接近2cm的纸带进行测量
B.在纸带上选取点迹清楚的、方便测量的某点作计数点的始点.
C.用刻度尺量出各计数点到第一点迹之间的距离,得出重锤下落相应高度h1、h2…hn.
D.用公式,计算出各计数点对应的重锤的瞬时速度.


参考答案:①操作步骤排列应该是? ADBCEF??②? CD?


本题解析:①操作步骤排列应该是,固定打点计时器,纸带穿过打点计时器,用手提纸带,接通电源,再松开纸带,让重锤自由下落,更换纸带,重新做实验,选择一条纸带,计算出对应的即时速度vn,分别算出,比较在实验误差范围内是否相等,所以排列顺序为:ADBCEF
②挑选第一、二两点间的距离接近2mm的纸带进行测量,AB错误
用刻度尺量出各计数点到第一点迹之间的距离,得出重锤下落相应高度h1、h2…hn.,C正确
某点瞬时速度,等于这段的平均速度,所以用公式,计算出各计数点对应的重锤的瞬时速度,D正确
故选CD


本题难度:一般



2、实验题  在“探究小车速度随时间变化的规律”实验中,从下列所给器材中选出本实验所必须的器材有________; 为能按实验要求达到实验目的,还缺少的器材有_________(写出一种即可)。
①电磁打点计时器?②天平?③低压直流电源?④细绳?⑤纸带 ⑥小车?⑦钩码?⑧秒表?⑨一端有带滑轮的长木板


参考答案:①④⑤⑥⑦⑨?, 低压交流电源 (或刻度尺)


本题解析:由“探究小车速度随时间变化的规律”实验知需要的器材有:①电磁打点计时器④细绳⑤纸带⑥小车⑦钩码⑨一端有带滑轮的长木板 ,而电磁打点计时器需要学生低压交流电源,进行数据处理时还需要测量距离,既还需直尺(或刻度尺)。


本题难度:简单



3、选择题  如图2所示,放在水平桌面上的木块A处于静止状态,所挂的砝码和托盘的总质量为0.6 kg,弹簧测力计读数为2 N,滑轮摩擦不计.若轻轻取走盘中的部分砝码,使总质量减少到0.3 kg时,将会出现的情况是(g=10 m/s2)                       (  )
A.弹簧测力计的读数将变小
B.A仍静止不动
C.A对桌面的摩擦力不变
D.A所受的合力将要变大


参考答案:B


本题解析:当砝码和托盘的总质量为m1=0.6 kg时,F+Ff=m1g=6 N,Ff=4 N,可知A与桌面的最大静摩擦力至少为4 N,当砝码和托盘总质量为m2=0.3 kg时,设A仍不动,有F不变,F+Ff′=m2g,Ff′=1 N<4 N,故假设成立,A仍静止不动,A所受的合力仍为零,A对桌面的摩擦力减为1 N,弹簧测力计的示数不变,故只有B正确.


本题难度:一般



4、计算题  (1)(3分)用游标为50分度的卡尺测量一工件的直径,测量结果如图所示,此工件的直径为___cm.
(2)(8分)某课外兴趣小组在研究“恒力做功和物体动能变化之间的关系”的实验中使用了如下实验装置:



?
(a)该小组同学实验时在安装正确,操作规范的前提下(已平衡摩擦力),用钩码的
重力表示小车受到的合外力,为减小由此带来的系统误差,钩码的质量和小车
的总质量之间需满足的条件是:??
(b)实验时,小车由静止开始释放,已知释放时钩码底端离地高度为H,现测出的
物理量还有:小车由静止开始起发生的位移ssH)、小车发生位移s时的速
度大小v,钩码的质量m,小车的总质量M,设重力加速度为g,则实际测量出
的恒力的功mgs??(选填“大于”、“小于”或“等于”)小车动能的
变化;若用该实验装置验证系统机械能守恒定律,即需验证关系式??
成立;
(c)在上述实验中打点计时器使用的交流电频率为50Hz,实验中某段纸带的打点记
录如图所示,则小车运动的加速度大小为____m/s2(保留3位有效数字).


?


参考答案:(1)? 2.642(3分)
(2)(a)钩码的质量远小于小车的总质量?(2分)?
?(b)大于(2分);(2分)?
(c)7.50(2分)


本题解析:略


本题难度:简单



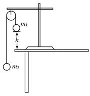
5、实验题  (8分)为了测量两个质量不等的沙袋的质量,由于没有直接测量工具,某实验小组应用下列器材测量:轻质定滑轮(质量和摩擦可忽略)、砝码一套(总质量为m=0.5 kg)、细线、米尺、秒表,他们根据已学过的物理学知识,改变实验条件进行多次测量,选择合适的变量得到线性关系,作出图线并根据图线的斜率和截距求出沙袋的质量.操作如下:

(1)实验装置如图,设左右两边沙袋的质量分别为m1、m2;
(2)从m中取出质量为m′的砝码放在右边沙袋中,剩余砝码都放在左边沙袋中,发现m1下降m2上升;
(3)用米尺测出沙袋m1从静止下降的距离h,用秒表测出沙袋m1下降时间t,则可知沙袋的加速度大小为a=________
(4)改变m′,测量相应的加速度a,得到多组m′及a的数据,作出________(选填“a~m′” 或“a~”)图线;
(5)若求得图线的斜率k=4 m/kg·s2,截距b=2 m/s2,沙袋的质量m1=________kg,m2=________kg。


参考答案:(3) a=2 h/t2 (4) a~m′(5) m1=3kg,m2=1.5kg.


本题解析:(3)沙袋匀加速下降,有?所以
(4)对沙袋和砝码整体,根据牛顿第二定律得:,化简得:要做出线性函数,应该做a~m′
(5)从上面的方程可以得到斜率,截距,代人数据解得 m1=3kg,
m2=1.5kg.


本题难度:一般




首页 上页 9 10 下页 尾页 10/10/10
微信搜索关注"91考试网"公众号,领30元,获取公务员事业编教师考试资料40G
【省市县地区导航】【考试题库导航】
 ★ 高考省级导航 ★ 
全国 A安徽 B北京 C重庆 F福建 G广东 广西 甘肃 贵州 H河南 河北 湖南 湖北 黑龙江 海南 J江苏 江西 吉林 L辽宁 N内蒙古 宁夏 Q青海 S山东 山西 陕西 四川 上海 T天津 X新疆 西藏 Y云南 Z浙江
 ★ 高考信息汇总 ★ 
 ★ 高考历年真题 ★ 
 ★ 高考历年真题 ★ 
 ★ 高考题库 ★ 
 ★ 高考题库 ★ 

电脑版  |  手机版  |  返回顶部