时间:2020-08-15 23:59:45
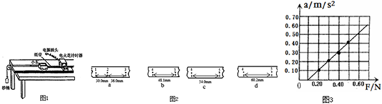
1、填空题 如图1所示,是《探究加速?度与力、质量的关系》的实验装置.
(1)本实验应用的实验方法是______
a.控制变量法?b.放大法? c.理想实验法
(2)某同学在实验中取得了几条较为理?想的纸带,其中每两个计数点之间还有4个计时点未画出,即相邻两计数点间的时间间隔为0.1s,将每条纸带上的计数点分别记为0、1、2、3、4、5…如图2所示,由于不小心,a纸带在开始部分和后半部分都被撕断了,则根据图2可知,在b、c、d三段纸带中,______是从纸带a上撕下的那部分;打a纸带时,物体的加速度大小是______m/s2,计数点2对应的速度大小是______m/s.(本题结果均保留两位有效数字)
(3)该同学在保持小车质量不变的情况下,改变对小车拉力F的大小,根据测得小车所受拉力F和加速度a的数据作出的a-F图线如图3,他发现自己作出的a-F图线并不过坐标原点,于是他仔细查找原因,对实验装置进行了调整,下列调整方案可行的是______
a.增加小车的质量
b.将电火花计时器换为电磁打点计时器
c.适当垫高长木板的右端
d.减小砂桶内砂的质量.
参考答案:(1)该实验是探究加速度与力、质量的三者关系,研究三者关系必须运用控制变量法,故BC错误,A正确.
故选A.
(2)根据匀变速直线运动的特点(相邻的时间间隔位移之差相等)得出:
x45-x23=2(x23-x12),由此可得:x45=48cm,
所以属于纸带A的是b图.
a=△xt2=0.60m/s2
根据匀变速直线运动中时间中点的瞬时速度等于该过程中的平均速度有:
v2=x132T=0.33m/s
故答案为:b,0.60,0.33.
(3)由图3可知,该实验中没有平衡摩擦力或者平衡摩擦力不够,因此调整方案为:适当垫高长木板的右端,故abd错误,c正确.
故选c.
本题解析:
本题难度:一般
2、简答题 如图2所示,表示合力F与两力夹角θ的关系图线,则这两个分力大小分别是__________与__________.
图2
参考答案:10 N? 8 N(或8 N? 10 N)
本题解析:由图象知:当两个力的夹角为180°时,合力大小为2 N,即两力反向时,得F1-F2="2" N
①
当两个力夹角为0°或360°时,合力为18 N,即两力同向时F1+F2="18" N?②
解①②得:F1="10" N,F2="8" N.
本题难度:简单
3、选择题 如图所示,水平横梁的一端A插在竖直墙内,与墙相垂直,另一端装有一小滑轮B,一轻绳的一端C固定于墙上,另一端跨过滑轮后悬挂一重物m.则下述说法中正确的是
A.轻绳对横梁作用力的方向沿横梁指向竖直墙.
B.绳对横梁的作用力一定大于重物对绳的拉力.
C.所挂重物m的质量越大,绳对横梁的作用力也越大.
D.若使绳的C端位置升高,则绳BC段的作用力会减小.
参考答案:C
本题解析:滑轮两边细绳的拉力均为mg, 轻绳对横梁作用力是竖直向下的mg与沿BC斜向上的mg的合力,所以其方向不沿横梁指向竖直墙;其大小也不一定于重物对绳的拉力mg;所挂重物m的质量越大,则竖直向下的mg与沿BC斜向上的mg的合力越大,绳对横梁的作用力也越大;若使绳的C端位置升高,则绳BC段的作用力仍等于mg。选项C正确。
本题难度:一般
4、选择题 2008年北京奥运会,我国运动员陈一冰勇夺吊环冠军,其中有一个高难度的动作就是先双手撑住吊环,然后身体下移,双臂缓慢张开到如图所示位置,则在两手之间的距离增大过程中,吊环的两根绳的拉力T(两个拉力大小相等)及它们的合力F的大小变化情况为

[? ]
参考答案:A
本题解析:
本题难度:一般
5、选择题 两个分速度的大小分别是8m/s和3m/s,它们合速度的大小可能是( )
A.3m/s
B.9m/s
C.15m/s
D.24m/s
参考答案:解;两个分速度的大小一个是8m/s,另一个是3m/s,合速度的范围为5m/s≤v合≤11m/s.故B正确,A、C、D错误.
故选:B.
本题解析:
本题难度:一般