时间:2020-08-15 22:44:34
1、选择题 如图,一带电液滴在重力和匀强电场对它的作用力作用下,从静止开始由b沿直线运动到d,且bd与竖直方向所夹的锐角为45°,则下列结论正确的是? (? )
A.此液滴带负电
B.液滴的加速度等于
g
C.合外力对液滴做的总功等于零
D.液滴的电势能减少
2、选择题 西方经典剧作《牛虻》在2009年9月7日至9月8日在我国国家大剧院上演,大剧院外部呈椭圆形。屋顶可视为半球形,一警卫人员为执行安保任务,必须冒险在半球形屋顶上向上缓慢爬行,如图所示,则他在向上爬的过程中
①屋顶对他的支持力变大;
②屋顶对他的支持力变小;
③屋顶对他的摩擦力变大;
④屋顶对他的摩擦力变小。
[? ]
A.①③
B.①④
C.②③
D.②④
3、选择题 如图所示,相距为d的两水平直线L1和L2分别是水平向里的匀强磁场的边界,磁场的磁感应强度为B,正方形线框abcd边长为L(L<d?)、质量为m.将线框在磁场上方ab边距L1为h处由静止开始释放,当ab边进入磁场时速度为V0,cd边刚穿出磁场时速度也为V0.从ab边刚进入磁场到cd边刚穿出磁场的整个过程中( )
A.线框一直都有感应电流
B.线框一定有减速运动的过程
C.线框不可能有匀速运动的过程
D.线框产生的总热量为mg(d+h+L)
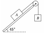
4、选择题 如图所示,质量分别为mA和mB的物体A、B用细绳连接后跨过滑轮,A静止在倾角为45°的斜面上.已知mA=2mB,不计滑轮摩擦,现将斜面倾角由45°增大到50°,系统保持静止.下列说法正确的是( )
A.细绳对A的拉力将增大
B.A对斜面的压力将减小
C.A受到的静摩擦力不变
D.A受到的合力将增大
5、选择题 如图所示,A、B两物体重力都等于10 N,各接触面间的动摩擦因数都等于0.3,同时有F=2 N的两个水平力分别作用在A和B上,A和B均静止,则地面对B和B对A的摩擦力分别为(?)
A.6 N,3N?B.1 N,1 N
C.0,3 N?D.0,2 N