时间:2019-12-13 02:46:33
1、选择题 在物理学发展的过程中,许多物理学家的科学研究推动了人类文明的进程.在对以下几位物理学家所作科学贡献的叙述中,正确的说法是? (? )
A.英国物理学家牛顿用实验的方法测出了万有引力常量
B.伽利略利用“理想斜面实验”推翻了亚里士多德的“力是维持物体运动的原因”观点
C.胡克认为只有在一定的条件下,弹簧的弹力与弹簧的形变量成正比
D.奥斯特发现了电流的磁效应,法拉第发现了电磁感应现象
参考答案:BCD
本题解析:是卡文第许用扭秤测出了万有引力常量,A错误。伽利略利用“理想斜面实验”推翻了亚里士多德的“力是维持物体运动的原因”观点,B正确。胡克认为只有在一定的条件下,弹簧的弹力与弹簧的形变量成正比即
,C正确。奥斯特发现了电流的磁效应,法拉第发现了电磁感应现象,D正确。
本题难度:简单
2、选择题 一列刚启动的、加速度为a的直行火车上,某人从窗口放下一个物体P,该人看到P的轨迹为(空气阻力不计)( )
A.竖直的直线
B.倾斜的直线
C.不规则的曲线
D.抛物线
参考答案:以人为参考系,物体P在竖直方向上做自由落体运动,在水平方向上做初速度为零的匀加速直线运动,两运动的合运动轨迹为倾斜的直线.故B正确,A、C、D错误.
故选B.
本题解析:
本题难度:简单
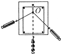
3、计算题 如图所示,两根相同的橡皮条,OA、OB开始夹角为0,在O点处打结吊一重50 N的物体后,结点O刚好位于圆心。今将A、B分别沿圆周向两边移到A′、B′,使∠AOA′=∠BOB′=60°。欲使结点仍在圆心处,则此时结点处应挂多重的物体? 
参考答案:解:根据在原位置时物体静止,求出橡皮条的拉力,由于变化后结点位置不变,因此每根橡皮条的拉力大小不变,方向变化,合力已变
设OA、OB并排吊起重物时,橡皮条产生的弹力均为F,则它们产生的合力为2F与G1平衡,所以F=
=
N=25 N
当A′O、B′O夹角为120°时,橡皮条伸长不变,故F仍为25 N。它们互成120°角,所以合力的大小为25 N,即应挂的重物重25 N
本题解析:
本题难度:一般
4、选择题 关于合力与其两个分力的关系,正确的是(?)
A.合力的大小一定大于小的分力、小于大的分力
B.合力的大小随分力夹角的增大而增大
C.合力的大小一定大于任意一个分力
D.合力的大小可能大于大的分力,也可能小于小的分力
参考答案:D
本题解析:根据平行四边形定则可知:两个共点力的合力的大小不一定大于小的分力(图甲),小于大的分力(图乙);合力的大小也不随夹角的增大而增大(图丙);并且也不一定大于任意一个分力.
本题难度:简单
5、选择题 如图所示,斜面上固定有一与斜面垂直的挡板,另有一截面为1/4圆的光滑柱状物体甲放置于斜面上,半径与甲相等的光滑球乙被夹在甲与挡板之间,没有与斜面接触而处于静止状态。现在从球心O1处对甲施加一平行于斜面向下的力F,使甲沿斜面方向向下移动,移动过程中甲、乙始终保持平衡。则在此过程中(?)
A.推力F变小
B.挡板对乙球的弹力变大
C.甲对斜面的压力不变
D.乙球对物体甲的弹力变大
参考答案:AC
本题解析:把甲球和乙球作为一个整体进行受力分析,受到重力、斜面的弹力和挡板的弹力,如图1,根据共点力的平衡条件,有
,
,因此,斜面对甲物体的支持力不变,根据作用力和反作用力的关系,甲对斜面的压力不变;在对乙球进行受力分析,如图2,受到重力、甲对乙的支持力和挡板的支持力,其中重力大小方向都不变,挡板的支持力方向不变、大小变,甲对乙的支持力大小方向都变,由力的图解法,甲球对乙球的弹力先变小后变大,根据作用力和反作用力的关系,乙球对甲球的弹力先变小后变大;挡板对乙球的弹力一直变小,再由
,则有推力F变小,所以正确选项为A、C。
本题难度:一般