时间:2019-12-13 02:21:10
1、实验题 在做“研究平抛运动”的实验时,让小球多次沿同一轨道运动,通过描点法画小球做平抛运动的轨迹,为了能较准确地描绘运动轨迹,下面列出了一些操作要求,将你认为正确的选项前面的字母填在横线上__ ___。(有选错的不得分)
A.通过调节使斜槽的末端保持水平
B.每次释放小球的位置可以不同
C.每次必须由静止释放小球
D.记录小球位置用的铅笔位置每次必须等距离改变
E.小球运动中不应与木板上的白纸(或方格纸)相接触
F.将球的位置记录在纸上后,取下纸,用直尺将点连成折线
2、填空题 如图所示是某同学设计的“探究加速度a与物体所受合力F及质量m间关系”的实验.图(a)为实验装置简图,A为小车,B为打点计时器,C为装有砂的砂桶,D为一端带有定滑轮的长方形木板,实验中认为细绳对小车拉力F等于砂和砂桶总重力,小车运动加速度a可由纸带求得.
【小题1】图(b)为实验得到的纸带, 图中所示S1、S2、S3、S4、S5、S6已测出,已知交流电的频率为f,则求小车加速度的表达式为 ;
【小题2】保持砂和砂桶质量不变,改变小车质量m,分别得到小车加速度a与质量m及对应的
数据如表中所示,根据表中数据,为直观反映F不变时a与m的关系,请在图(c)坐标纸中选择恰当物理量建立坐标系并作出图线;从图线中得到F不变时小车加速度a与质量m间定量关系是 ;


【小题3】保持小车质量不变,改变砂和砂桶质量,某同学根据实验数据作出了加速度a与合力F关系图线如图(d),该图线不通过原点,明显超出偶然误差范围,其主要原因是 ;
【小题4】若实验中将小车换成滑块,将木板水平放置可测出滑块与木板间的动摩擦因数μ. 实验中认为细绳对滑块拉力F等于砂和砂桶总重力,则要测出动摩擦因数μ,需要测量的物理量有 ;实验测得的动摩擦因数μ比真实值 (填“偏大”或“偏小”).
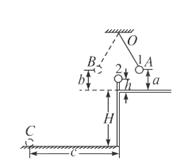
3、实验题 下图是用来验证动量守恒的实验装置,质量为m1的弹性球1用细线悬挂于O点,O点下方桌子的边沿有一竖直立柱.实验时,调节悬点,使弹性球1静止时恰与立柱上的质量为m2的弹性球2接触且两球等高.将球1拉到A点,并使之静止,同时把球2放在立柱上.释放球1,当它摆到悬点正下方时与球2发生对心碰撞.碰后球1向左最远可摆到B点,球2落到水平地面上的C点测出有关数据即可验证1、2两球碰撞时动量守恒.现已测出A点离水平桌面的距离为a.B点离水平桌面的距离为b,C点与桌子边沿间的水平距离为c.(忽略小球的大小)
碰前1球的动量
碰后1球的动量 碰后2球的动量
动量守恒的表达是 
4、实验题 在“探究小车速度随时间变化的规律”的实验中,打点计时器使用的交流电的频率为50Hz,记录小车运动的纸带如图所示,在纸带上选择0、1、2、3、4、5共6个计数点,相邻两计数点之间还有四个点未画出,纸带旁并排放着带有最小分度为毫米的刻度尺,零刻度线跟“0”计数点对齐,由图可以读出三个计数点1、3、5跟0点的距离填入下列表格中.
| 距离(cm) | d1= | d2= | d3= |
5、实验题 现要验证“当质量一定时,物体运动的加速度与它所受的合外力成正比”这一物理规律。给定的器材如下:一倾角可以调节的长斜面(如图)、小车、计时器一个、米尺。(不考虑摩擦力的影响)
①让小车自斜面上方一固定点A1从静止开始下滑到斜面底端A2,记下所用的时间t。
②用米尺测量A1与A2之间的距离s,则小车的加速度 a= 。
③用米尺测量A1相对于A2的高度h。设小车所受重力为mg,则小车所受的合外力
F= 。
④改变斜面倾角,重复上述测量。