时间:2019-07-03 00:11:00
1、选择题 下列说法正确的是( )
A.穿过闭合电路的磁通量变化越快,闭合电路的感应电动势就越大
B.穿过闭合电路的磁通量变化越大,闭合电路中产生的感应电动势就越大
C.穿过闭合电路的磁通量变化越小,闭合电路中产生的感应电动势就越小
D.只要穿过闭合电路的磁通量不为零,闭合电路中就有感应电流
参考答案:A、穿过闭合电路的磁通量变化越快,则闭合电路中的感应电动势就越大.故A正确;
B、穿过闭合电路的磁通量变化越大,但时间不知道,所以闭合电路中的感应电动势就不一定越大,故B错误;
C、穿过闭合电路的磁通量变化越小,但时间不知道,所以闭合电路中的感应电动势就不一定越小,故C错误;
D、只要穿过闭合电路的磁通量变化,则闭合电路中就有感应电流,而不是磁通量不为零.故D错误;
故选:A
本题解析:
本题难度:一般
2、计算题 如图所示,ab=25cm,ad=20cm,匝数为50匝的矩形线圈,线圈总电阻r=1Ω,外电路电阻R=9Ω,磁感应强度B=0.4T,线圈绕垂直于磁感线的OO′轴以角速度ω=50rad/s匀速转动,求:
(1)从此位置开始计时,它的感应电动势的瞬时值表达式。
(2)经过R的电流最大值与有效值。 
参考答案:解:(1)从此位置开始计时,它的感应电动势的瞬时值表达式因为:e=nBsωcosωt
所以:e=50×0.4×0.2×0.25×50cos50t=50cos50t?
(2)由闭合电路欧姆定律得:因为:
又因为:I=E/R+r
所以:Im=Em/R+r=50/10=5A
I=E/R+r=2.5
A。
本题解析:
本题难度:一般
3、计算题 如图所示,平行光滑导轨MN和M"N"置于水平面内,导轨间距为l,电阻可以忽略不计,导轨的左端通过电阻忽略不计的导线接一阻值为R的定值电阻。金属棒ab垂直于导轨放置,其阻值也为R。导轨处于磁感应强度为B、方向竖直向下的匀强磁场中.当金属棒ab在导轨上以某一速度向右做匀速滑动时,定值电阻R两端的电压为U。
(1)判断M和M"哪端电势高?
(2)求金属棒ab在导轨上滑动速度的大小。
参考答案:解:(1)由右手定则可知,电流方向为M→M",所以M端电势高
(2)金属棒ab切割磁感线感生的感应电动势E=Blv
由题意可知E=2U
解得
本题解析:
本题难度:一般
4、计算题 如图所示,两足够长平行光滑的金属导轨MN、PQ相距为L,导轨平面与水平面夹角θ=30°,导轨电阻不计。磁感应强度为B=2T的匀强磁场垂直导轨平面向上,长为L=0.5m的金属棒ab垂直于MN、PQ放置在导轨上,且始终与导轨电接触良好,金属棒ab的质量m=1kg、电阻r=1Ω。两金属导轨的上端连接右端电路,灯泡电阻RL=4Ω,定值电阻R1=2Ω,电阻箱电阻R2=12Ω,重力加速度为g="10" m/s2,现闭合开关,将金属棒由静止释放,下滑距离为s0=50m时速度恰达到最大,试求:
(1)金属棒下滑的最大速度vm;
(2)金属棒由静止开始下滑2s0的过程中整个电路产生的电热Q。
参考答案:(1)30m/s(2)50J
本题解析:(1)当金属棒匀速下滑时速度最大,设最大速度为vm,达到最大时,则根据平衡条件有
mgsinθ=F安
又 F安=ILB,
,E=BLvm
R总=R1+r+
6Ω
联立解得最大速度:vm=30m/s
(2)由能量守恒知,mg?2S0sin30°=Q+
mvm2
解得,Q=50J
考点:法拉第电磁感应定律;能量守恒定律;
本题难度:困难
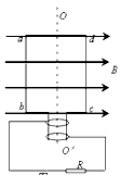
5、计算题 一正方形线圈在匀强磁场中绕OO’轴转动,线圈通过滑环与外电阻R连接成如图所示电路,安培表与伏特表均为理想交流电表,其中线圈匝数为N=200匝,边长为l=0.10m,线圈总电阻为r=1.0Ω,外电阻R=9.0Ω,匀强磁场B=0.50T,转速为n=3.0×103r/min,求:
(1)线圈转动产生的电动势的最大值;
(2)安培表及电压表的读数各为多少。
参考答案:解:(1)由法拉第电感感应定律得
代入数据计算得
?
(2)由闭合回路欧姆定律得
代入数据得
又
代入数据得
本题解析:
本题难度:一般