时间:2019-06-29 05:26:06
1、选择题 矩形线圈在匀强磁场中绕垂直于磁场方向的轴匀速转动,下列说法中正确的是
[? ]
A. 在中性面时,通过线圈的磁通量最大
B. 在中性面时,感应电动势最大
C. 穿过线圈的磁通量为零时,感应电动势也为零?
D. 穿过线圈的磁通量为零时,磁通量的变化率也为零
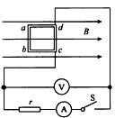
2、选择题 多选
如图正方形线框abcd边长为L,每边电阻均为r,在磁感应强度为B的匀强磁场中绕cd轴以角速度ω转动,c、d两点与外电路相连,外电路电阻也为r,则下列说法中正确的是( ? )





3、选择题 在匀强磁场中,一矩形金属线框绕与磁感线垂直的转轴匀速转动,如图乙所示,产生的交变电动势随时间变化规律的图象如图甲所示,已知发电机线圈内阻为1.0
,外接一只电阻为9.0
的灯泡,则
A.电压表V的示数为20V
B.电路中的电流方向每秒改变5次
C.灯泡实际消耗的功率为36W
D.值电动势随时间变化的瞬时表达式为
4、填空题
一个正弦交变电流的图象如图所示,由图象可知其频率f ="__" HZ,瞬时值表达式为u =___
5、选择题 一个矩形线圈的匝数为N匝,线圈面积为S ,在磁感强度为B的匀强磁场中以ω的角速度绕所在平面内垂直磁感线的轴匀速转动,开始时,线圈平面与磁场平行。对于它产生的交变电动势,下列判断正确的是:
A.瞬时表达式为e = NBSωsinωt
B.有效值为
NBSω
C.平均值为
NBSω
D.频率为2πω