时间:2019-06-29 05:24:23
1、选择题 如图所示,在水平地面上的A点以速度v1射出一弹丸,方向与地面成θ角,经过一段时间,弹丸恰好以v2的速度垂直穿入竖直壁上的小孔B,不计空气阻力.下面说法正确的是( )
A.如果在B点以与v2大小相等的速度,水平向左射出弹丸,则它必定落在地面上A点
B.如果在B点以与v1大小相等的速度,水平向左射出弹丸,则它必定落在地面上A点
C.如果在B点以与v2大小相等的速度,水平向左射出弹丸,那它必定落在地面上A点左侧
D.如果在B点以与v1大小相等的速度,水平向左射出弹丸,那它必定落在地面上A点右侧
2、计算题 将一个小球从某高处以2m/s的初速度水平抛出,到落地时运动的水平距离为1.6m(不计空气阻力,g=10m/s2)。求:
(1)小球在空中运动的时间;
(2)小球抛出点的高度;
(3)小球落地时的速度大小。
3、计算题 如图所示,图中的装置可测量子弹的速度,其中薄壁圆筒半径为R,圆筒上的a、b两点是一条直径上的两个端点(图中OO′为圆筒轴线)。圆筒以速度v竖直向下匀速运动。若某时刻子弹沿图示平面正好水平射入a点,且恰能经b点穿出。
(1)若圆筒匀速下落时不转动,求子弹射入a点时速度的大小;
(2)若圆筒匀速下落的同时绕OO匀速转动,求圆筒转动的角速度条件。
4、计算题 一物体以10m/s的初速水平抛出,不计空气阻力,g=10m/s2,求:
(1)抛出1s内物体下落的高度和水平位移分别是多少?
(2)抛出1s末物体的速度多大?速度方向与水平方向之间的夹角是多大?
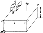
5、简答题 如图所示:正方形绝缘光滑水平台面WXYZ边长l=1.8m,距地面h=0.8m.平行板电容器的极板CD间距d=0.1m且垂直放置于台面,C板位于边界WX上,D板与边界WZ相交处有一小孔.电容器外的台面区域内有磁感应强度B=1T、方向竖直向上的匀强磁场.电荷量q=5×10-13C的微粒静止于W处,在CD间加上恒定电压U=2.5V,板间微粒经电场加速后由D板所开小孔进入磁场(微粒始终不与极板接触),然后由XY边界离开台面.在微粒离开台面瞬时,静止于X正下方水平地面上A点的滑块获得一水平速度,在微粒落地时恰好与之相遇.假定微粒在真空中运动、极板间电场视为匀强电场,滑块视为质点,滑块与地面间的动摩擦因数μ=0.2,取g=10m/s2
(1)求微粒在极板间所受电场力的大小并说明两板地极性;
(2)求由XY边界离开台面的微粒的质量范围;
(3)若微粒质量mo=1×10-13kg,求滑块开始运动时所获得的速度.