时间:2019-06-26 04:18:26
1、简答题 等腰直角棱镜放在真空中,如图所示,

参考答案:
(1)光路图如图所示,
(2)由几何知识得:α+β=∠A=90°,θ=(60°-α)+(γ-β)=30°
解得:γ=60°,
根据折射定律得:sin60°sinα=n,sinγsinβ=n,所以α=β=45°
则折射率为 n=sin60°sin45°=
本题解析:
本题难度:一般
2、选择题 一束光由空气射入某介质时,入射光线与反射光线间的夹角为90°,折射光线与反射光线间的夹角为105°,则该介质的折射率及光在该介质中的传播速度为 ( ).
A.
,
c
B.1.2,
C.
,
c
D.
,
参考答案:D
本题解析:由反射定律和题意可知,反射角和入射角均为45°,折射角为r=180°-45°-105°=30°,则折射率n=
=
,所以光在该介质中的速度v=
=
=
c,故D选项正确.
本题难度:一般
3、简答题 请完成下列实验:
(1)如图1中,①是光源,⑤是光屏,它们之间的②、③、④依次是______、______、和______.(选填单缝、双缝、滤光片)
(2)利用如图1中的装置研究双缝干涉现象时,有下面几种说法
A.将屏移近双缝,干涉条纹间距变窄
B.将滤光片由蓝色的换成红色的,干涉条纹间距变宽
C.将单缝向双缝移动一小段距离后,干涉条纹间距变窄
D.换一个两缝之间距离稍大的双缝,干涉条纹间距变窄
E、去掉滤光片后,干涉现象消失
其中正确的是:______.
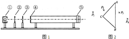
(3)用三棱镜做“测定玻璃折射率”实验,先在白纸上放好三棱镜,在棱镜的一侧插上两枚大头针P1和P2,然后在棱镜的另一侧观察,调整视线使P1的像被P2的像挡住,接着在眼睛所在的一侧插两枚大头针P3和P4,使P3挡住P1、P2的像,P4挡住P3和P1、P2的像,在纸上标出大头针位置和三棱镜轮廓,如图2所示.
(1)在本题的图上画出所需的光路;
(2)为了测出棱镜玻璃的折射率,需要测量的量是______、______,在图上标出它们;
(3)计算折射率的公式是n=______.
参考答案:(1)②、③、④依次是滤光片、单缝、双缝;
(2)ABCD、依据双缝干涉条纹间距公式△X=Ldλ知,要使干涉条纹的间距变小,需要改用波长更短的单色光或减小双缝与屏之间的距离L,或增大双缝的间距.故ABD正确.C错误.
E、去掉滤光片后,仍然能产干涉现象,故E错误.
故选ABD
(3)(1)大头针P1、P2的连线表示入射光线,P3、P4的连线表示出射光线,连接P1、P2作直线交AC边于O点,连接P3、P4,作直线交AB边于O′点,连接O、O′点,即为光线传播路径.画出光路图如图.
(2)过O点作AC边法线OF,量出入射角θ1、折射角θ2.
(3)如图,光线在棱镜左侧面上折射时入射角为θ1,折射角为θ2,根据折射定律得到折射率n=sinθ1sinθ2
故答案为:(1)滤光片、单缝、双缝?
(2)ABD
(3)(1)根据插针法确定光线路径,连接P1、P2作直线交AC边于O点,连接P3、P4,作直线交AB边于O′点,连接O、O′点,即为光线传播路径.如图所示.
(2)过O点作AC边法线OF,量出入射角θ1、折射角θ2.(需要测量的量)
(3)根据折射定律可得率n=sinθ1sinθ2.
本题解析:
本题难度:一般
4、选择题 已知水的折射率为1.33,空气的折射率为1.00,一个潜水员自水下目测到立于船头的观察者距水面的距离为h1,而船头的观察者目测到潜水员距水面深h2处,则(? )
A.潜水员的实际深度大于h2,观察者实际高度大于h1
B.潜水员的实际深度小于h2,观察者实际高度小于h1
C.潜水员的实际深度大于h2,观察者实际高度小于h1
D.潜水员的实际深度小于h2,观察者实际高度大于h1
参考答案:C
本题解析:设观察者实际距离水面的距离为H1,设潜水员实际距离水面的深度为H2,由折射定律可知
,所以解得
;同理可得
,故选项C正确.
本题难度:一般
5、选择题 甲乙两种单色光均垂直投射到一条直光纤的端面上,甲光穿过光纤的时间比乙光的长,则( )
A.光纤对甲光的折射率较大
B.甲光子的能量较大
C.甲光的波动性比乙光的显著
D.用它们分别作为同一双缝干涉装置的光源时,甲的干涉条纹间距较大
参考答案:A、甲乙两种单色光均垂直投射到一条直光纤的端面上,甲光穿过光纤的时间比乙光的长,知甲光在介质中传播的速度小,根据v=cn知,甲光的折射率大.故A正确.
B、甲光的折射率大,则频率大,根据E=hv知,甲光子的能量较大.故B正确.
C、甲光的频率大,则波长小,所以乙光的波动性比甲光显著.故C错误.
D、甲光的波长短,根据双缝干涉的条纹间距公式△x=Ldλ知,甲的干涉条纹间距小.故D错误.
故选AB.
本题解析:
本题难度:一般