时间:2019-06-23 22:28:05
1、选择题  电子流从南向北进入方向自东向西的磁场,电子流受到的磁场的作用力方向是(  )
A.竖直向上
B.竖直向下
C.向南
D.向北
参考答案:电子带负电,速度方向向北,磁场方向从东向西,由左手定则可知,电子所受的洛伦兹力竖直向下;
故选B.
本题解析:
本题难度:一般
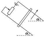
2、计算题  如图甲所示,在水平地面上固定一对与水平面倾角为α的光滑平行导电轨道,轨道间的距离为l,两轨道底端的连线与轨道垂直,顶端接有电源。将一根质量为m的直导体棒ab放在两 轨道上,且与两轨道垂直。已知轨道和导体棒的电阻及电源的内电阻均不能忽略,通过导体棒的恒定电流大小为I,方向由a到b,图11乙为图甲沿a→b方向观察的平面图。若重力加速度为g,在轨道所在空间加一竖直向上的匀强磁场,使导体棒在轨道上保持静止。
轨道上,且与两轨道垂直。已知轨道和导体棒的电阻及电源的内电阻均不能忽略,通过导体棒的恒定电流大小为I,方向由a到b,图11乙为图甲沿a→b方向观察的平面图。若重力加速度为g,在轨道所在空间加一竖直向上的匀强磁场,使导体棒在轨道上保持静止。
小题1:请在图11乙所示的平面图中画出导体棒受力的示意图;
小题2:求出磁场对导体棒的安培力的大小;
小题3:如果改变导轨所在空间的磁场方向,试确定使导体棒在轨道上保持静止的匀强磁场磁感应强度B的最小值的大小和方向。
参考答案:
小题1:如图所示
小题2:F=mgtanα
小题3: 方向为垂直轨道平面斜向上
方向为垂直轨道平面斜向上
本题解析:(1)如图答-2所示………………(3分)
(2)根据共点力平衡条件可知,磁场对导体棒的安培力的大小
F=mgtanα………………(2分)
(3)要使磁感应强度最小,则要求安培力最小。根据受力情况可知,最小安培力
Fmin=mgsinα,方向平行于轨道斜向上……………(1分)
所以最小磁感应强度Bmin= =
= ……………(1分)
……………(1分)
根据左手定则可判断出,此时的磁感应强度的方向为垂直轨道平面斜向上。…(1分)
本题难度:一般
3、填空题  如图所示,把长为L的导体棒置于竖直向下的匀强磁场中,磁场的磁感应强度为 ,导体棒与磁场方向垂直,棒中通有电流I,则导体棒所受安培力的大小为__▲__。
,导体棒与磁场方向垂直,棒中通有电流I,则导体棒所受安培力的大小为__▲__。
参考答案:BIL
本题解析:根据 ,
, 为磁场方向和电流方向的夹角,故导体棒安培力大小为BIL。
为磁场方向和电流方向的夹角,故导体棒安培力大小为BIL。
本题难度:简单
4、选择题  如图所示,以下判断正确的是(  )
A.电子飞到通电导线下方时,将做速度不断减小的曲线运动
B.条形磁铁靠近干簧管时,干簧管内两个簧片相对部分因形成相反的磁极而吸合
C.当条形磁铁靠近水平桌面上的闭合铝圈时,铝圈对桌面压力将增大,且有收缩趋势
D.条形磁铁放在水平桌面上,其上方放一根通电直导线后,桌面受到的压力将减小
参考答案:A、电子飞到通电导线下方,受到洛伦兹力,由于洛伦兹力不做功,则粒子的速度不变,电子做匀速率曲线运动.故A错误.
B、条形磁铁靠近干簧管时,干簧管内两个簧片相对部分因形成相反的磁极而吸合;故B正确.
C、当条形磁铁靠近水平桌面上的闭合铝圈时,引起的机械效果将阻碍磁通量的变化,知线圈有远离和缩小的趋势,则铝圈对桌面压力将增大,且有收缩趋势,故C正确.
D、根据左手定则知,导线所受的安培力向上,根据牛顿第三定律知,磁铁受到向下的导线对它向下的力,则桌面受到的压力增大.故D错误.
故选BC.
本题解析:
本题难度:简单
5、选择题  如图所示,通有向右电流的直导线置于匀强磁场中,导线与磁场平行,则该导线(  )
A.不受安培力
B.受安培力,方向向右
C.受安培力,方向垂直纸面向里
D.受安培力,方向垂直纸面向外
参考答案:由题意可知,因通电导线与磁场平行,所以不受到安培力的作用,故A正确,BCD错误;
故选:A.
本题解析:
本题难度:一般