时间:2019-06-23 21:23:10
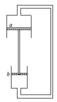
1、简答题 如图8-3-4所示,一根一端封闭、一端开口向上的均匀玻璃管,长l="96" cm,用一段长h="20" cm的水银柱封住长h1="60" cm的空气柱,温度为27 ℃,大气压强p0="76" cmHg,问温度至少要升高到多少度,水银柱才能全部从管中溢出?
图8-3-4
参考答案:要使T2最大,则(76+x)(96-x)应最大,即x="10" cm时,T2有极大值是385.2 K.
温度至少要升至385.2 K,水银柱才能全部排出.
本题解析:实际上,整个过程可分为两个阶段.第一阶段,水银柱尚未溢出阶段,加热气体,气体作等压变化,体积增大,温度升高;第二阶段,水银溢出,气体体积增大,但压强却减小,由
=C可知,当p、V乘积最大时,温度应为最高.
由于第二个过程中,体积增大,压强减小,则可能出现温度的极值.
以封闭气体为研究对象
则初始状态下p1=p0+h="96" cmHg
V1=h1S="60S?" T1="300" K
设管中剩余水银柱长为x cm时,温度为T2
p2=(p0+x) cmHg="(76+x)" cmHg
V2=(96-x)S
根据理想气体状态方程
=
有
=
显然,要使T2最大,则(76+x)(96-x)应最大,即x="10" cm时,T2有极大值是385.2 K.
温度至少要升至385.2 K,水银柱才能全部排出.
本题难度:简单
2、选择题 绝热气缸的质量为M,绝热活塞的质量为m,活塞与气缸壁之间无摩擦且不漏气,气缸中密封一部分理想气体,最初气缸被销钉固定在足够长的光滑固定斜面上。如图所示,现拔去销钉,让气缸在斜面上自由下滑,当活塞与气缸相对静止时,被封气体与原来气缸静止在斜面上时相比较,以下说法正确的是( ?)
A.气体的压强不变
B.气体的内能减少
C.气体的温度升高
D.气体的体积增大
参考答案:BD
本题解析:分析:该系统为绝热系统,不能进行热交换,被封闭气体内能的改变只能通过做功实现,因此解答本题的关键是判断气体体积的变化情况,根据气缸开始和后来的状态先判断出压强的变化,即可进一步判断体积的变化情况.
解答:解:设被封闭气体压强为P,大气压强为P0,开始时有:mgsinθ+P0s=Ps,后来气缸在斜面上自由下滑,当活塞与气缸相对静止时P=P0,故被封闭气体压强减小,根据气态方程可知,体积增大,对外做功,绝热系统Q=0,根据△U=W+Q可知,内能减小,温度降低,故AC错误,BD正确.
故选BD.
点评:本题的难点在于判断压强的变化,压强问题实质上就是力学问题,要会根据被封闭气体的状态判断压强的变化情况.
本题难度:简单
3、选择题 分别以p、V、T表示气体的压强、体积、温度.一定质量的理想气体,其初始状态表示为(p0、V0、T0).若分别经历如下两种变化过程:在上述两种变化过程中,如果V1=V2>V0,则( )
①从(p0、V0、T0)变为(p1、V1、T1)的过程中,温度保持不变(T1=T0);
②从(p0、V0、T0)变为(p2、V2、T2)的过程中,既不吸热,也不放热.
A.p1>p2,T1>T2
B.p1>p2,T1<T2
C.p1<p2,T1<T2
D.p1<p2,T1>T2
参考答案:①从(p0、V0、T0)变为(p1、V1、T1)的过程中,温度保持不变(T1=T0),
根据气体状态方程PVT=C得:
P0V0T0=P1V1T1,T1=T0,V1>V0,所以P1<P0.
②从(p0、V0、T0)变为(p2、V2、T2)的过程中,既不吸热,也不放热.
V2>V0,表明对外做功,根据△U=Q+W,Q=0,△U<0,则T2<T0,
根据气体状态方程PVT=C得:P1V1T1=P2V2T2,
由于T2<T1,V1=V2,所以P2<P1,
故选A.
本题解析:
本题难度:一般
4、填空题 如图所示,一根粗细均匀的玻璃管,中间有一段水银柱将,两端封有空气,水平放置时,空气柱体积之比为VA:VB=2:3,温度为27℃,将A端气体加热使温度升高△t,B端气体冷却使温度降低△t,结果使得两端气体体积相等.则B端气体压强______(选填:“不变”、“变小”或“变大”),△t为______℃.
参考答案:B端气体冷温度降低,压强变小.根据理想气体状态方程得
? 对A端气体:PAVATA=PA′VB′TB′? ①
? 对B端气体:PBVBTB=PB′VB′TB′? ②
由题,PA=PB,PA′=PB′,VA′=VB′,TA=TB
由①式:②式得,
? VAVB=TB′TA′
又VA:VB=2:3,TA′=300+△t,TB′=300-△T代入解得
△T=60K
所以△t=△T=60°
故答案为:变小;?60°.
本题解析:
本题难度:一般
5、填空题 一定质量的理想气体的状态变化过程如图的p-T图线所示,吸热的过程有______.
参考答案:A→B是等容降温过程,气体内能减少,但不做功,故内能减少是放热的结果,
B→C过程是等压膨胀升温过程,内能增加同时外做功,故吸热;
C→A过程是等温升压、体积减小的过程,虽外界对气体做功但气体内能不变,故会放热.
只有B→C是吸热过程.
故答案为:B→C过程
本题解析:
本题难度:一般