时间:2019-03-16 03:03:56
1、选择题 不定项选择
下列关于力的说法,正确的是( ? )
A.力是物体对物体的相互作用
B.力有时能脱离物体而独立存在
C.有受力物体就一定有施力物体
D.只有相互接触的物体间才能产生作用力
参考答案:AC
本题解析:
本题难度:简单
2、实验题 某同学做“验证力的平行四边形定则”实验时,主要步骤是:
A.在桌面上放一块方木板,在方木板上铺一张白纸,用图钉把白纸钉在方木板上;
B.用图钉把橡皮条的一端固定在板上的A点,在橡皮条的另一端拴上两条细绳,细绳的另一端系着绳套;
C.用两个弹簧秤分别钩住绳套,互成角度地拉橡皮条,使橡皮条伸长,结点到达某一位置O,记下O点的位置,读出两个弹簧秤的示数;
D.按选好的标度,用铅笔和刻度尺作出两只弹簧秤的拉力F1和F2的图示,并用平行四边形定则求出合力F;
E.只用一只弹簧秤,通过细绳套拉橡皮条使其伸长,读出弹簧秤的示数,记下细绳的方向,按同一标度作出这个力F"的图示;
F.比较力F"和F的大小和方向,看它们是否相同,得出结论。
上述步骤中:
(1)有重要遗漏的步骤的序号是________和________;
(2)遗漏的内容分别是____________________________________________和________________________________________。
参考答案:(1)C,E
(2)C中未记下两条细绳的方向,E中未说明是否把橡皮条的结点拉到了位置O
本题解析:
本题难度:一般
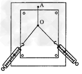
3、填空题 在“验证力的平行四边形法则”实验中,如图所示,用AB两弹簧秤拉橡皮条结点O,使其位于E处,此时(α+β)=900,然后保持A的读数不变,当α角由图中所示的值逐渐减小时,要使结点仍在E处,可采取的办法是( )
A.增大B的读数,减小β角
B.减小B的读数,减小β角
C.减小B的读数,增大β角
D.增大B的读数,增大β角
参考答案:该题本质上考查了物体的动态平衡,由题意可知:保持E点位置不动,即合力大小方向不变,弹簧测力计A的读数不变,因此根据要求作出力的平行四边形定则,画出受力分析图如下:
所以由图可知α角逐渐变小时,B的示数减小,同时β角减小,故ACD错误,B正确.
故选B.
本题解析:
本题难度:一般
4、选择题 下述有关力学单位制的说法中正确的是( )
A.在有关力学的分析计算中,只能采用国际单位,不能采用其他单位
B.力学单位制中,选为基本单位的物理量有长度,物质的质量和速度
C.力学单位制中,采用国际单位的基本单位有kg、m、s
D.单位制中的导出单位可以用基本单位来表达
参考答案:
A、在有关力学的分析计算中,可以根据实际情况对单位进行选择,不一定采用国际单位.此选项错误;
B、在力学中,选定长度、质量和时间这三个物理量的单位作为基本单位,就可以导出其余的物理量的单位.此选项错误;
C、在国际单位制(SI)中,取m(长度单位)、kg(质量单位)、s(时间单位)作为基本单位.此选项正确;
D、力学中的其它物理量的单位,可以用质量、长度和时间的单位来表达.此选项正确.
故选CD.
本题解析:
本题难度:一般
5、实验题 在《探究加速度与力、质量的关系》实验中。
(1)某组同学用如图甲所示装置,采用控制变量的方法,来研究小车质量不变的情况下,小车的加速度与小车受到的力的关系,下列措施中不需要和不正确的是___。
A.首先要平衡摩擦力,使小车受到的合力就是细绳对小车的拉力
B.平衡摩擦力的方法就是,在塑料小桶中添加砝码,使小车能匀速滑动
C.每次改变拉小车拉力后都需要重新平衡摩擦力
D.实验中通过在塑料桶中增加砝码来改变小车受到的拉力
E.每次小车都要从同一位置开始运动
F.实验中应先放小车,然后再开打点计时器的电源
? 
(2)某组同学实验得出数据,画出a-F图象如乙图所示,那么该组同学实验中出现的问题可能是____。
A.实验中摩擦力没有平衡
B.实验中摩擦力平衡过度
C.实验中绳子拉力方向没有跟平板平行
D.实验中小车质量发生变化
参考答案:(1)BCEF
(2)B
本题解析:
本题难度:一般