时间:2018-10-13 01:11:03
1、选择题 如图所示,从倾角为θ的斜面上的M点水平抛出一个小球,小球的初速度为v0,最后小球落在斜面上的N点,则下列说法错误的是
[? ]
A.可求出M,N之间的距离
B.可求出小球落到N点时速度的大小和方向
C.可求小球到达N点时的动能
D.可以断定,当小球速度方向与斜面平行时,小球与斜面间的距离最大
2、简答题 如图所示,竖直平面内的
| 3 4 |

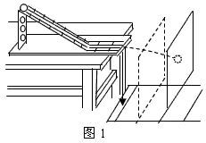
3、实验题 某同学利用图1所示装置做“研究平抛运动”的实验,根据实验结果在坐标纸上描出了小球水平抛出后的运动轨迹,但不慎将画有轨迹图线的坐标纸丢失了一部分,剩余部分如图2所示,图2中水平方向与竖直方向每小格的长度均代表0.10m,P1、P2和P3是轨迹图线上的3个点,P1和P2、P2和P3之间的水平距离相等。完成下列填空:(重力加速度取9.8m/s2)
? 
(1)设P1、P2和P3的横坐标分别为x1、x2和x3,纵坐标分别为y1、y2和y3,从图2中可读出︱y1-y2︱=______________m,︱y1-y3︱=______________m,︱x1-x2︱=______________m(保留两位小数)。
(2)若已测知抛出后小球在水平方向做匀速运动,利用(1)中读取的数据,求小球从P1运动到P2所用的时间为______________s,小球抛出后的水平速度为______________m/s(均可用根号表示)。
(3)已测得小球抛出前下滑的高度为0.50m,设E1和E2分别为开始下滑时和抛出时的机械能,则小球从开始下滑到抛出的过程中机械能的相对损失
×100% =______________%(保留两位有效数字)。
4、选择题 在不计空气阻力的情况下,下列说法中正确的是( )
A.从同一高度,以大小不同的速度同时水平抛出两个物体,它们一定同时着地,抛出的水平距离一定不同
B.从不同高度,以相同的速度同时水平抛出两个物体,它们一定不能同时着地,抛出的水平距离也一定不同
C.从不同高度,以不同的速度同时水平抛出两个物体,它们一定不能同时着地,抛出的水平距离也一定不同
D.从不同高度,以不同的速度同时水平抛出两个物体,它们一定不能同时着地,抛出的水平距离可能相同
5、选择题 .关于平抛运动,下列叙述正确的是(?)
?
A.平抛运动是一种在恒力作用下的曲线运动
?
B.平抛运动速度方向与加速度方向之间夹角越来越小
?
C.平抛运动速度方向与恒力方向之间夹角不变
?
D.平抛运动速度大小时刻改变