时间:2018-10-13 00:29:36
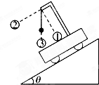
1、选择题 一个小球用细线悬挂在小车上,随小车沿斜面下滑.图中虚线①垂直于斜面,虚线?②平行于斜面,虚线③沿竖直方向.下列说法中正确的是( )
A.如果斜面是光滑的,摆线将与虚线①重合
B.如果斜面是光滑的,摆线将与虚线③重合
C.如果斜面粗糙且μ<tanθ,摆线将位于②③之间
D.如果斜面粗糙且μ>tanθ,摆线将位于②③之间
2、填空题 将一个力传感器连接到计算机上,我们就可以测量快速变化的力。图中所示就是用这种方法测得的小滑块在半球形碗内在竖直平面内来回滑动时,对碗的压力大小随时间变化的曲线。从这条曲线提供的信息,可以判断滑块约每隔?秒经过碗底一次,随着时间的变化滑块对碗底的压力?(填“增大”、减小”、“不变”或“无法确定”)。
3、选择题 如图所示,滑块B放在斜面体A上,B在水平向右的外力F1,以及沿斜面向下的外力F2共同作用下沿斜面向下运动,此时A受到地面的摩擦力水平向左。若A始终静止在水平地面上,则下列说法中正确的是
A.同时撤去F1和F2,B的加速度一定沿斜面向下
B.只撤去F1,在B仍向下运动的过程中,A所受地面摩擦力的方向可能向右
C.只撤去F2,在B仍向下运动的过程中,A所受地面摩擦力的方向可能向右
D.只撤去F2,在B仍向下运动的过程中,A所受地面的摩擦力不变
4、选择题 地球赤道上的重力加速度为g,物体在赤道上随地球自转的向心加速度为a.卫星甲、乙、丙在如图所示的三个椭圆轨道上绕地球运行,卫星甲和乙的运行轨道在P点相切.不计阻力,以下说法正确的是(?)
A.如果地球的转速为原来的
倍,那么赤道上的物体将会“飘”起来
B.卫星甲、乙分别经过P点时的速度相等
C.卫星丙的周期最小
D.卫星甲的机械能最大,卫星中航天员始终处于完全失重状态;
5、简答题 一个质量m=10kg的静止物体与水平地面间滑动摩擦系数μ=0.5,受到一个大小为100N与水平方向成θ=37°的斜向上拉力作用而运动,假设拉力作用的时间为t=1s.(g取10m/s2.已知sin53°=0.8,cos53°=0.6)
(1)求1s内拉力做的功;
(2)求1s内摩擦力做的功;
(3)求1s内合外力做的功.