时间:2018-10-11 00:21:06
1、计算题 【选修3-3选做题】
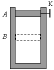
如图所示,一直立的汽缸用一质量为m的活塞封闭一定量的理想气体,活塞横截面积为S,汽缸内壁光滑且缸壁是导热的,开始活塞被固定,打开固定螺栓K,活塞下落,经过足够长时间后,活塞停在B点,已知AB=h,大气压强为p0,重力加速度为g。
(1)求活塞停在B点时缸内封闭气体的压强;
(2)设周围环境温度保持不变,求整个过程中通过缸壁传递的热量Q(一定量理想气体的内能仅由温度决定)。 
2、简答题 如图所示,截面均匀的U形玻璃细管两端都开口,玻璃管足够长,管内有两段水银柱封闭着一段空气柱,若气柱温度是27℃时,空气柱在U形管的左侧,A、B两点之间封闭着的空气柱长为15cm,U形管底边长CD=10cm,AC高为5cm.已知此时的大气压强为75cmHg.
(1)若保持气体的温度不变,从U形管左侧管口处缓慢地再注入25cm长的水银柱,则管内空气柱长度为多少?
某同学是这样解的:对AB部分气体,初态p1=100cmHg,V1=15Scm3,末态p2=125cmHg,V2=LScm3,则由玻意耳定律p1V1=p2V2解得管内空气柱长度L=12cm.以上解法是否正确,请作出判断并说明理由,如不正确则还须求出此时管内空气柱的实际长度为多少?
(2)为了使这段空气柱长度恢复到15cm,且回到A、B两点之间,可以向U形管中再注入一些水银,且改变气体的温度.问:应从哪一侧管口注入多长的水银柱?气体的温度变为多少?
3、填空题 关于大气压强,下列说法正确的是(? )
A.是由大气的重力产生的
B.是大量气体分子与器壁频繁地碰撞而产生的
C.随着高度的增大大气压强增大
D.随着高度的增大大气压强减小
4、填空题 一定质量理想气体,状态变化过程如P─V图中ABC图线所示,其中BC为一段双曲线.若将这一状态变化过程表示在P─T图或V─T图上,其中正确的是
5、选择题 气缸内封闭着一定质量的理想气体,如果保持气体体积不变,当温度升高时( )
A.气体的密度增大
B.气体分子的平均动能减小
C.每秒钟撞击器壁单位面积上的气体分子数不变
D.气体的压强增大