时间:2017-11-10 08:16:56
1、填空题 (1)下列说法正确的是______
A、简谐波沿长绳传播,绳上相距半个波长的两个质点振动位移的大小相等
B、简谐机械波在给定的媒质中传播时,振动的频率越高,则波传播一个波长的距离所用的时间越短.
C、某同学在做“用单摆测定重力加速度”的实验,开始计时时,秒表提前按下.
D、能产生干涉现象的两束光是频率相同、相位差恒定的两束光.
E、按照麦克斯韦的电磁场理论,变化的电场周围产生磁场,变化的磁场周围产生电场.
F、振荡电场和振荡磁场交替产生,相互依存,形成不可分离的统一体,即电磁场.
G、除了从光源直接发出的光以外,我们通常看到的绝大部分光都是偏振光.
H、力学规律在任何参考系中都是相同的
(2)如图所示,一横波的波源在坐标原点,x轴为波的传播方向,y轴为振动方向.当波源开始振动1s时,形成了如图所示的波形(波刚传到图中P点).试求:
(1)波的波长λ为多少?周期T为多少?
(2)从图示位置再经多长时间波传到Q点?
(3)画出波传到Q点时的波形.
2、选择题 如图某物块沿光滑斜面加速下滑,则关于物块在下滑过程中受力分析正确的
3、填空题 有五组同学用单摆测重力加速度g,各组实验器材和实验数据如表所示,若各组同学实验操作水平一样,那么第? 组同学测定的结果最准确。若该组同学根据自己测得的实验数据做出单摆的振动图像如下图,那么该组同学测出的重力加速度g大小是? m/s2。
? 
4、选择题 一个物体所受重力在下列哪些情况下要发生变化( )
A.把物体从赤道拿到南极
B.把物体放到加速上升的电梯里
C.把物体放到水里
D.用一个气球使物体悬浮空中
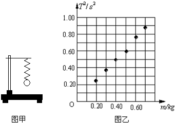
5、简答题 取一根轻质弹簧,上端固定在铁架台上,下端系一金属小球,如图甲所示.把小球沿竖直方向拉离平衡位置后释放,小球将在竖直方向做简谐运动(此装置也称竖直弹簧振子).一位同学用此装置研究竖直弹簧振子的周期T与小球质量m的关系.他多次换用不同质量的小球并测得相应的周期,现将测得的六组数据,用“?”标示在以m为横坐标、T2为纵坐标的坐标纸上,如图乙所示.
(1)根据图乙中给出的数据作出T2与m的关系图线
(2)假设图乙中图线的斜率为b,写出T与m的关系式为______.
(3)求得斜率b的值是______.(保留两位有效数字)