时间:2017-11-05 17:47:29
1、选择题 如图甲为一火灾报警系统.其中R0为定值电阻,R为热敏电阻,其阻值随温度的升高而减小。理想变压器原、副线圈匝数比为5∶1,副线圈输出电压如图乙所示,则下列说法正确的是 
A.原线圈输入电压有效值为
B.副线圈输出电压瞬时值表达式 
C.R处出现火情时原线圈电流增大
D.R处出现火情时电阻R0两端的电压减小
参考答案:AC
本题解析:副线圈输入电压有效值为
,根据原副线圈电压关系式
可得:原线圈输入电压为
,从图中可得交流电最大值为
,周期为
,所以角速度
,故
,B错误;R处出现火情时,电阻减小,副线圈中的电流增大,所以原线圈中的电流增大,C正确;R处出现火情时,电阻减小,电流增大,根据欧姆定律可得R0两端的电压增大,D错误;
本题难度:一般
2、选择题 理想变压器原线圈与交流电源连接,电压不变,副线圈通过导线连接两个相同的灯泡L1和L2,开始时开关S是断开的,如图所示.在S接通后,以下说法正确的是( )
A.灯泡L1两端的电压减小
B.通过灯泡L1的电流增大
C.原线圈中的电流增大
D.变压器的输入功率增大
参考答案:A、理想变压器的输出电压是由输入电压和匝数比决定的,由于输入电压和匝数比不变,所以副线圈的输出的电压也不变,所以A错误;
B、当S接通后,两个灯泡并联,因副线圈的电压不变,所以通过灯泡L1的电流不变,故B错误;
C、当S接通后,两个灯泡并联,电路的电阻减小,所以通过副线圈电路中电流变大,根据原副线圈的电流与匝数,则原线圈的电流也增大,故C正确;
D、当S接通后,两个灯泡并联,电路的电阻减小,因原线圈的电流也变大,则变压器的输入功率也增大,所以D正确;
故选:CD.
本题解析:
本题难度:一般
3、选择题 如图所示,有一理想变压器,原副线圏的匝数比为n,原线圈接正弦交流电,电压为U,副线圏输出端接有理想电压表、理想电流表和一个电动机,电动机线圈的电阻为R。当输入端接通电源后,电动机带动质量为m的重物以速度v匀速上升, 电流表的读数为I。电动机的摩擦不计,取重力加速度为g,则
A.电压表的读数为IR
B.电动机的输入功率为mgv
C.变压器的输出功率为UI/n
D.变压器的输入功率为UI
参考答案:C
本题解析:电路是非纯电阻电路,故不能用IR求出电压表示数,A错误;变压器的输出功率为UI/n,也是电动机的输入功率,mgv为电动机输出的机械功率,BD错误、C正确。
本题难度:一般
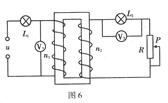
4、选择题 如图所示的电路中,有一个理想变压器,原线圈匝数为n1,串联一只小灯泡L1,再并联一只电压表V1后接在稳定的交流电源上;副线圈匝数为n2,串联灯泡 L2和变阻器R,L2上并联电压表V2.现在向下移动滑动变阻器R的滑动触头P下列判断正确的是? 
A.V1读数将变大,V2读数将变小
B.V1读数不变,V2读数增大
C.灯泡L1和L2上消耗的功率都变小
D.灯泡L1及L2上电流强度Il、I2与变压器原副线圈匝数n1、n2成正比
参考答案:AC
本题解析:向下移动滑动变阻器R的滑动触头P,电阻增大,副线圈电流减小,V2表示数变小,则原线圈电流也减小,灯泡L1两端电压减小,总电压不变,则V1示数变大,由于原副线圈电流都减小,所以灯泡L1和L2上消耗的功率都变小,灯泡L1及L2上电流强度Il、I2与变压器原副线圈匝数n1、n2成反比,选AC
本题难度:困难
5、选择题 原线圈两端电压恒定时用理想变压器给纯电阻负载供电时,用下列哪些办法可以增大输入电流
A.增加原线圈的匝数
B.增加副线圈的匝数
C.在副线圈上多串联一个电阻
D.使绕制线圈的导线粗一些
参考答案:B
本题解析:根据 U1/n1=U2/n2,增加副线圈的匝数,可以增大次级电压,从而增大次级电流,由
I1n1=I2n2,次级电流增加则初级电流必增大,A错,B对。在副线圈上多串联一个电阻,则次级电流会减小,根据I1n1=I2n2,则初级电流必减小,C错;使绕制线圈的导线粗一些,只要匝数不变就不会影响输入电流,D错。
本题难度:一般