时间:2017-09-26 10:43:11
1、实验题 有白光光源、透红光的滤光片、单缝、双缝、毛玻璃屏等光学元件,把它们从左向右放在图中所示的光具座上组装成双缝干涉装置,用以测量红光的波长。
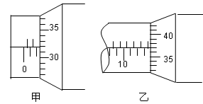
(1)将测量头的分划板中心刻线与某亮纹中心对齐,将该亮纹定为第1条亮纹,此时手轮上的示数如图甲所示为___________mm。然后同方向转动测量头,使分划板中心刻线与第6条亮纹中心对齐,记下此时图乙中手轮上的示数________mm。
(2)已知双缝间距d为2.0×10-4m,测得双缝到屏的距离l为0.700m,由计算式求得所测红光的波长为____________nm。
2、简答题 某同学把卡尺间的窄缝调节到0.5mm去观察某一线光源,看到了彩色条纹.他把缝的宽度增加到0.8mm,再观察同一光源,看到的现象是______?但亮度增大.若他把缝的宽度减小到0.2mm,则看到的现象是______.这说明在衍射现象中,衍射图样条纹的宽度及亮度与______有关,当其______时,衍射现象更为明显.
3、选择题 以下关于偏振片和增透膜的说法正确的是( )
A.为减小光在照相机镜面处的反射,使景物更加清晰,可在照相机镜头前加一偏振片
B.照相机的增透膜厚度通常为绿光真空中波长的
| 1 4 |
4、实验题 在《为测定玻璃的折
射率》实验中,某同学经过正确操作,得出多组数据后画出如图所示的图象,则该图象斜率大小的物理意义是?(用文字表述)。
5、实验题 现有双缝A、白光光源B、单缝C、只能透过红光的滤光片D等光学元件,要把它们放在光具座上组装成双缝干涉实验装置,用以测量红光的波长.
(1)将白光光源B放在光具座的最左端,依次放置其它光学元件,由左向右的排列顺序应为B、_______________、遮光筒(带有屏和测量头).(填仪器前的字母)
(2)某同学用测量头测量时,先将测量头目镜中看到的分划板中心刻度线对准某条亮纹(记作第1条)的中心,记录手轮上的示数x1,然后他转动测量头,使分划板中心刻度线对准第7条亮纹的中心,这时手轮上的示数是x2,由此可以计算相邻亮条纹之间的距离是________。
(3)以下操作能够增大屏上条纹之间距离的是_______
A.增大单缝和双缝之间的距离? B.增大双缝到屏之间的距离
C.将红色滤光片改为绿色滤光片? D.增大双缝之间的距离