高考物理高频考点《弹力》高频考点强化练习(2017年最新版)(一)

时间:2017-09-26 10:42:45

微信搜索关注"91考试网"公众号,领30元,获取事业编教师公务员等考试资料40G

1、实验题  若某同学采用的是频闪照相方法来研究小球平抛运动,右图为小球平抛过程的频闪照片,闪光频率为f=20HZ,求:

(1)试求出背景小正方形的边长L=?m。
(2)试求出平抛的初速度V0 =?m/s。
(3)试求小球在C点时的即时度Vc =?m/s。



2、实验题  (1)某同学想探究平抛物体的运动规律,他可通过描迹或拍照片等方法来探究。实验时,先在竖直放置的木板上固定坐标纸,让小球做平抛运动,描出小球的运动轨迹;再以竖直向下为y轴方向,水平为x轴建立直角坐标系,测出轨迹曲线上某一点的坐标(xy),根据两个分运动的特点,利用公式y=?,求出小球的飞行时间,再利用公式x=?,求出小球的水平分速度,表达式为?
(2)下面做法中可以减小实验误差的是(   )
A.使用密度大、体积小的钢球
B.尽量减小钢球与斜槽间的摩擦
C.让小球每次都从同一高度由静止开始滚下
D.使斜槽末端的切线保持水平



3、选择题  以下是“探索弹力和弹簧伸长的关系”的实验步骤,实验的正确顺序为(  )
①将弹簧竖直挂在支架上;②以弹簧为纵坐标,弹簧的伸长量为横坐标,根据所测数据在坐标纸上描点;③以弹簧的伸长量为自变量,写出曲线所代表的函数;④在弹簧的弹性限度内,分别挂上质量不同的砝码,依次测量出挂不同砝码时弹簧的伸长量(或部长),并将测量的几组数据记入表格中;⑤实验结束,整理还原实验器材.
A.①②③④⑤
B.①②④③⑤
C.①④②③⑤
D.④①②③⑤



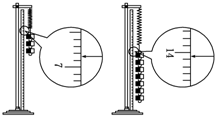
4、填空题  某同学和你一起探究弹力和弹簧伸长的关系,并测弹簧的劲度系数k.做法是先将待测弹簧的一端固定在铁架台上,然后将最小刻度是毫米的刻度尺竖直放在弹簧一侧,并使弹簧另一端的指针恰好落在刻度尺上.当弹簧自然下垂时,指针指示的刻度数值记作L0;弹簧下端挂一个50g的砝码时,指针指示的刻度数值记作L1;弹簧下端挂两个50g的砝码时,指针指示的刻度数值记作L2;…;挂七个50g的砝码时,指针指示的刻度数值记作L7.
(1)下表记录的是该同学已测出的6个值,其中有两个数值在记录时有误,它们的代表符号分别是______和______.
代表符号
L0
L1
L2L3L4
L5L6L7
刻度数值/cm
1.70
3.40
5.10
8.60
10.3
12.1
?
(2)实验中,L3和L7还没有测定,请你根据下图将这两个测量值填入上表中.
91考试网
(3)为了充分利用测量数据,该同学将所测得的数值按如下方法逐一求差,分别计算出了三个差值:d1=L4-L0=6.90cm,d2=L5-L1=6.90cm,d3=L6-L2=7.00cm.
请你给出第四个差值:d4=______=______cm.
(4)根据以上差值,可以求出每增加50g砝码的弹簧平均伸长量△L.△L用d1、d2、d3、d4表示的式子为:△L=______,代入数据解得△L=______cm.
(5)计算弹簧的劲度系数k=______N/m.(g取9.8m/s2)



5、选择题  在做“碰撞中的动量守恒定律”实验中,下列说法正确的是
A.斜槽轨道尽量光滑以减少误差
B.入射球和被碰球的质量必须相等,且大小相同
C.需要用秒表测量小球做平抛运动的时间
D.需要用圆规确定小球落地的平均位置,并用刻度尺测量落地水平距离




首页 上页 1 2 3 下页 尾页 1/10/10
微信搜索关注"91考试网"公众号,领30元,获取公务员事业编教师考试资料40G
【省市县地区导航】【考试题库导航】
 ★ 高考省级导航 ★ 
全国 A安徽 B北京 C重庆 F福建 G广东 广西 甘肃 贵州 H河南 河北 湖南 湖北 黑龙江 海南 J江苏 江西 吉林 L辽宁 N内蒙古 宁夏 Q青海 S山东 山西 陕西 四川 上海 T天津 X新疆 西藏 Y云南 Z浙江
 ★ 高考信息汇总 ★ 
 ★ 高考历年真题 ★ 
 ★ 高考历年真题 ★ 
 ★ 高考题库 ★ 
 ★ 高考题库 ★ 

电脑版  |  手机版  |  返回顶部