时间:2017-09-25 07:42:34
1、选择题 如图所示是双缝干涉实验,使用波长为600nm的橙色光照射时,在光屏上的P0点和P0点上方的P1点恰好形成两列相邻的亮条纹,若用波长为400nm的紫光重复上述实验,则P0点和P1点形成的明暗条纹情况是(?)
A.P0点和P1点都是亮条纹
B.P0点是亮条纹,P1点是暗条纹
C.P0点是暗条纹,P1点是亮条纹
D.P0点和P1点都是暗条纹
2、选择题 用单色光做双缝干涉实验,下述说法中正确的是( )
A.中央明条纹宽度是两边明条纹宽度的2倍
B.相邻干涉条纹之间的距离相等
C.屏与双缝之间距离减小,则屏上条纹间的距离增大
D.在实验装置不变的情况下,红光的条纹间距小于蓝光的条纹间距
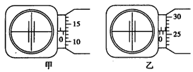
3、实验题 在“双缝干涉测光的波长”实验中,调节分划板的位置,使分划板的中心刻线对齐中央亮条纹的中心,此时螺旋测微器的示数如图甲所示,转动手轮,使分划线向一侧移动,使分划板的中心刻线对齐第3条亮条纹的中心,此时螺旋测微器的示数如图乙所示,已知双缝间距d=1.5 mm,双缝到屏的距离L=l.00 m,则被测光波的波长__________。
4、选择题 如图所示,让太阳光通过M上的小孔S后照射到M右方的一偏振片P上,P的右侧再放一光屏Q,现使P绕着平行于光传播方向的轴匀速转动一周,则关于光屏Q上光的亮度变化情况,下列说法中正确的是( )
A.只有当偏振片转到某一适当位置时光屏被照亮,其他位置时光屏上无亮光
B.光屏上亮、暗交替变化
C.光屏上亮度不变
D.光屏上只有一条亮线随偏振片转动而转动
5、选择题 如图所示是光的双缝干涉的示意图,下列说法中正确的是
A.单缝S的作用是为了增加光的强度.
B.双缝S1、S2的作用是为了产生两个频率相同的线状光源.
C.当S1、S2发出两列光波到P点的路程差为光的波长λ的1.5倍时,产生第二条暗条纹.
D.当S1、S2发出的两列光波到P点的路程差为长λ时,产生中央亮条纹.